首页
专利数据库
产业人才
行业动态
产业政策法规
维权援助
个人中心
登录/注册
详情
文本
图像
标题:
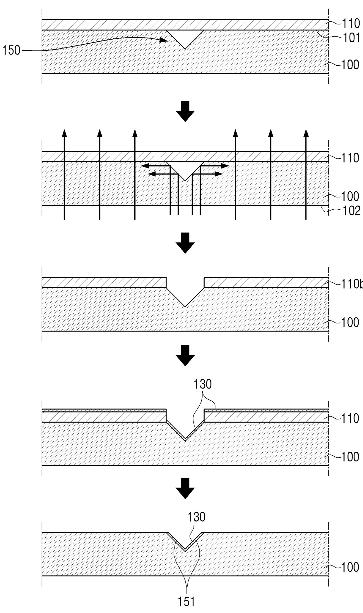
발명의 명칭 백라이트 유닛용 도광판 제조 방법 및 그 도광판을 사용하는 액정 표시 장치
授权日:
1900-01-01
公开(公告)号:
KR1020170092035A
申请日:
2016-02-02
公开(公告)日:
2017-08-10
当前申请(专利权)人:
삼성전자주식회사
发明人:
노재헌 | 김하영
简单同族:
KR1020170092035A
简单同族成员数量:
1
简单同族被引用专利总数:
0
诉讼案件数:
0
法律状态/事件:
实质审查