首页
专利数据库
产业人才
行业动态
产业政策法规
维权援助
个人中心
登录/注册
详情
文本
图像
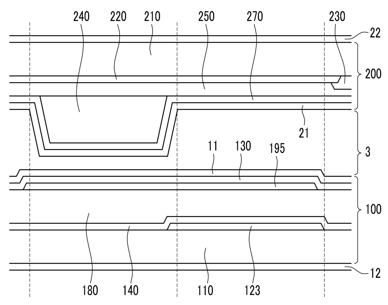
标题:
발명의 명칭 액정 표시 장치
授权日:
2015-05-29
公开(公告)号:
KR101525802B1
申请日:
2008-12-11
公开(公告)日:
2015-06-11
当前申请(专利权)人:
삼성디스플레이 주식회사
发明人:
노상용 | 한상윤 | 이성영 | 김소영 | 김동규 | 이재훈 | 조영제 | 유봉현 | 이병준 | 김태형
简单同族:
KR101525802B1 | KR1020100067480A | US20100149128A1 | US9395835
简单同族成员数量:
4
简单同族被引用专利总数:
74
诉讼案件数:
0
法律状态/事件:
授权