标题:
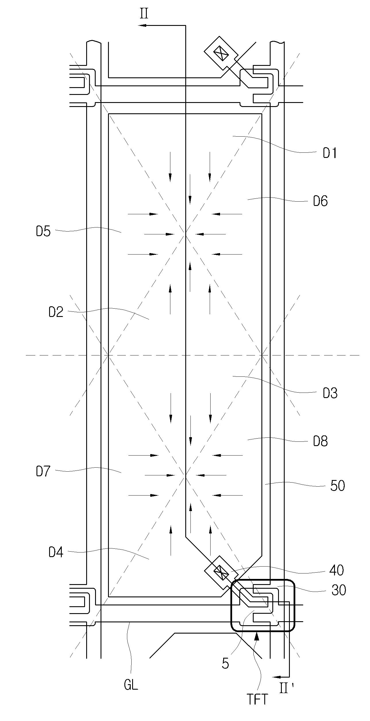
배향 물질, 배향막, 액정 표시 장치 및 그 제조 방법
授权日:
1900-01-01
公开(公告)号:
KR1020100032323A
申请日:
2009-09-15
公开(公告)日:
2010-03-25
当前申请(专利权)人:
삼성디스플레이 주식회사
发明人:
김재훈
简单同族:
CN102216839A | CN102216839B | CN102216840A | CN102216840B | CN104238193A | CN104238193B | EP2338083A2 | EP2338083A4 | EP2338084A2 | EP2338084A4 | EP2338084B1 | JP2012503210A | JP2012503219A | JP2015129963A | JP5539361B2 | JP5715058B2 | KR101657627B1 | KR1020100032323A | KR1020100032324A | KR1020160036543A | TW201020624A | TW201027199A | TWI475302B | TWI494647B | US20120282838A1 | US20130265532A1 | US20140078454A1 | US20160231627A1 | US8937698 | US9348181 | US9575367 | US9720286 | WO2010032946A2 | WO2010032946A3 | WO2010032962A2 | WO2010032962A3
简单同族成员数量:
36
简单同族被引用专利总数:
102
诉讼案件数:
0
法律状态/事件:
授权