标题:
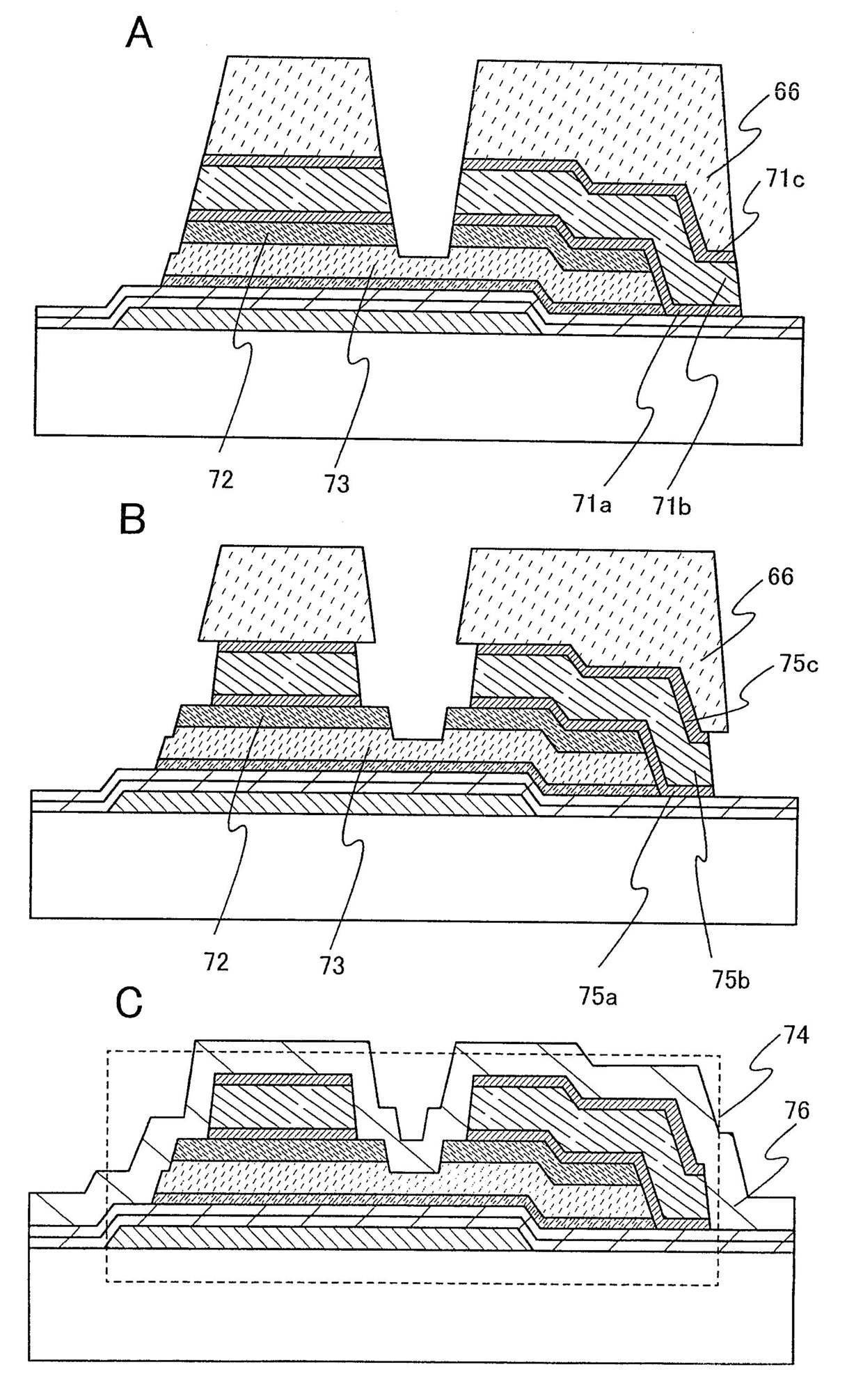
발명의 명칭 액정 표시 장치
授权日:
2015-05-07
公开(公告)号:
KR101519885B1
申请日:
2008-06-27
公开(公告)日:
2015-05-13
当前申请(专利权)人:
가부시키가이샤 한도오따이 에네루기 켄큐쇼
发明人:
슌페이야마자키 | 유키스즈키 | 히데아키쿠와바라 | 하지메키무라 | 히데카즈미야이리 | 요시유키쿠로카와 | 사토시고바야시
简单同族:
JP2009044134A | JP2009044134A5 | JP2014195109A | JP5815796B2 | KR101519885B1 | KR1020090003129A | TW200912499A | TW201512754A | TWI468828B | TWI539222B | US20090002591A1 | US9176353
简单同族成员数量:
12
简单同族被引用专利总数:
150
诉讼案件数:
0
法律状态/事件:
授权