首页
专利数据库
产业人才
行业动态
产业政策法规
维权援助
个人中心
登录/注册
详情
文本
图像
标题:
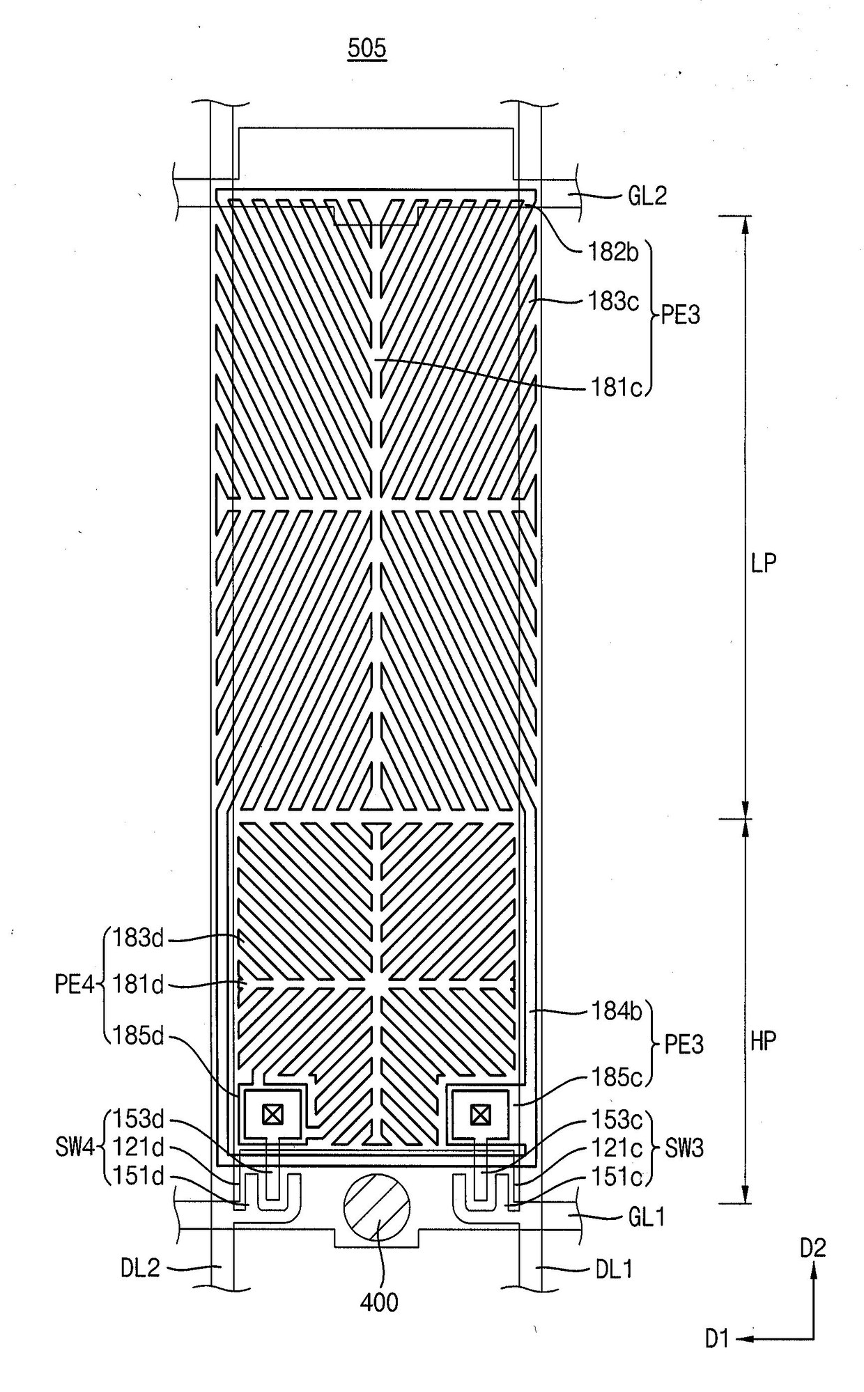
표시 기판 및 이를 포함하는 액정표시패널
授权日:
1900-01-01
公开(公告)号:
KR1020090129774A
申请日:
2008-06-13
公开(公告)日:
2009-12-17
当前申请(专利权)人:
삼성디스플레이 주식회사
发明人:
KIM DONG GYU
简单同族:
KR1020090129774A | US20090310075A1 | US8189160
简单同族成员数量:
3
简单同族被引用专利总数:
54
诉讼案件数:
0
法律状态/事件:
驳回