标题:
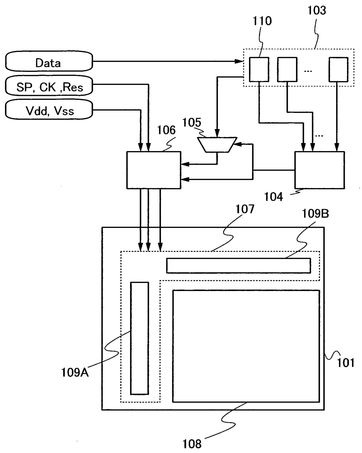
발명의 명칭 액정 표시 장치 및 그 구동 방법
授权日:
2017-07-26
公开(公告)号:
KR101763660B1
申请日:
2010-11-16
公开(公告)日:
2017-08-01
当前申请(专利权)人:
가부시키가이샤 한도오따이 에네루기 켄큐쇼
发明人:
아라사와료 | 도요타카고헤이
简单同族:
CN102640207A | CN107886916A | JP2011145667A | JP2011145667A5 | JP2012212178A | JP2013050738A | JP2015099394A | JP2016118789A | JP2017122921A | JP2019008321A | JP5393867B2 | JP5805944B2 | JP6100880B2 | KR101763660B1 | KR101900662B1 | KR1020120094957A | KR1020170087963A | TW201133460A | TW201624460A | TWI536346B | TWI654595B | US20110148846A1 | US20140210808A1 | US8698717 | US9105256 | WO2011074379A1
简单同族成员数量:
26
简单同族被引用专利总数:
105
诉讼案件数:
0
法律状态/事件:
授权