首页
专利数据库
产业人才
行业动态
产业政策法规
维权援助
个人中心
登录/注册
详情
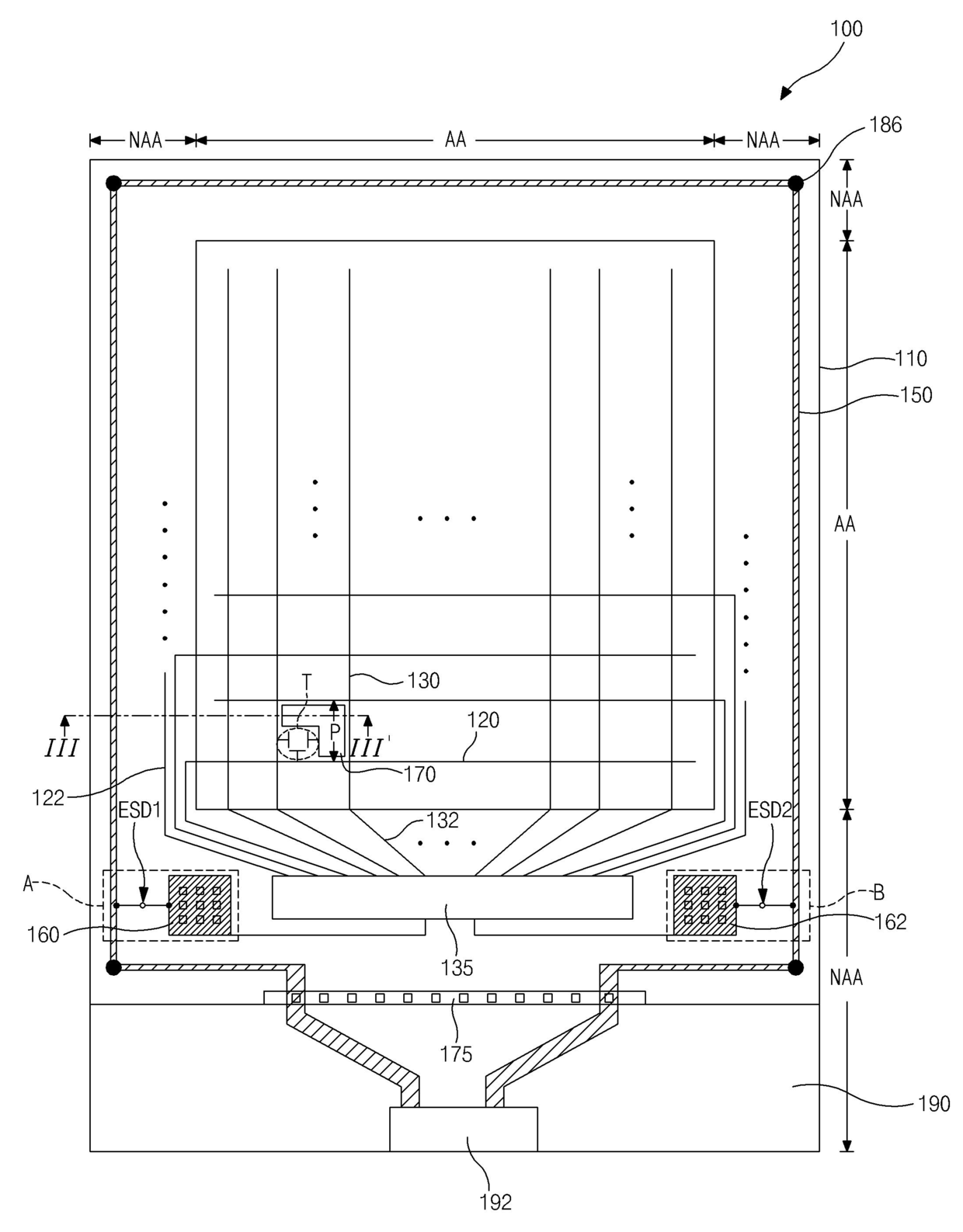
文本
图像
标题:
액정표시장치용 어레이 기판
授权日:
2011-04-29
公开(公告)号:
KR101033463B1
申请日:
2008-06-13
公开(公告)日:
2011-05-09
当前申请(专利权)人:
엘지디스플레이 주식회사
发明人:
KIM, BUNG GOO
简单同族:
CN101604103A | CN101604103B | KR101033463B1 | KR1020090129803A | US20090310051A1 | US7956945
简单同族成员数量:
6
简单同族被引用专利总数:
64
诉讼案件数:
0
法律状态/事件:
授权