首页
专利数据库
产业人才
行业动态
产业政策法规
维权援助
个人中心
登录/注册
详情
文本
图像
标题:
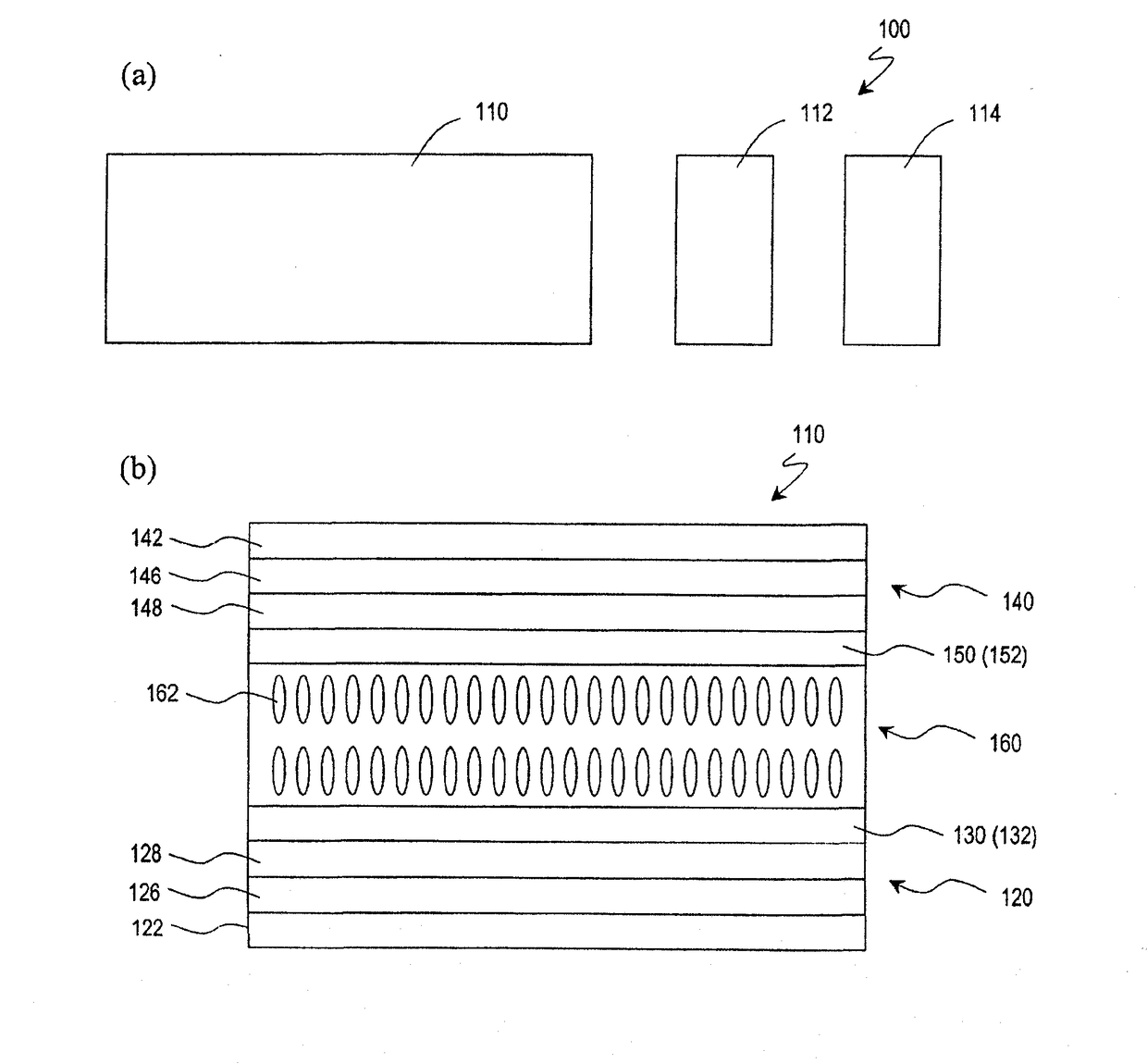
液晶显示装置及其制造方法
授权日:
1900-01-01
公开(公告)号:
CN102077134A
申请日:
2009-06-26
公开(公告)日:
2011-05-25
当前申请(专利权)人:
夏普株式会社
发明人:
水崎真伸 | 中村公昭 | 仲西洋平 | 山田祐一郎
简单同族:
CN102077134A | CN102077134B | EP2306238A1 | EP2306238A4 | JP5357153B2 | JPWO2009157207A1 | KR1020100123760A | US20110102720A1 | WO2009157207A1
简单同族成员数量:
9
简单同族被引用专利总数:
49
诉讼案件数:
0
法律状态/事件:
授权