首页
专利数据库
产业人才
行业动态
产业政策法规
维权援助
个人中心
登录/注册
详情
文本
图像
标题:
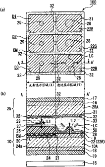
液晶显示装置、液晶显示装置的制造方法和电子设备
授权日:
2010-05-26
公开(公告)号:
CN1573430B
申请日:
2004-06-04
公开(公告)日:
2010-05-26
当前申请(专利权)人:
微软技术许可有限责任公司
发明人:
前田强
简单同族:
CN1573430A | CN1573430B | DE602004001420D1 | DE602004001420T2 | EP1484633A1 | EP1484633B1 | JP2004361823A | JP3778179B2 | KR100637968B1 | KR1020040105573A | TW200428071A | TWI286628B | US20050001962A1 | US7139052
简单同族成员数量:
14
简单同族被引用专利总数:
81
诉讼案件数:
0
法律状态/事件:
授权 | 权利转移