首页
专利数据库
产业人才
行业动态
产业政策法规
维权援助
个人中心
登录/注册
详情
文本
图像
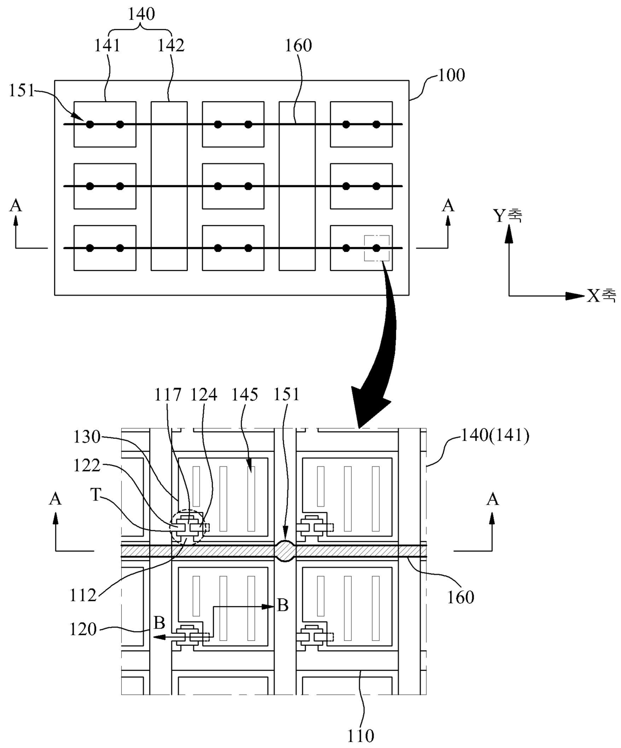
标题:
발명의 명칭 액정표시장치
授权日:
2017-10-13
公开(公告)号:
KR101790977B1
申请日:
2010-10-08
公开(公告)日:
2017-10-26
当前申请(专利权)人:
엘지디스플레이 주식회사
发明人:
송인혁
简单同族:
CN102445799A | CN102445799B | KR101790977B1 | KR1020120036521A | TW201215975A | TWI467297B | US20120086654A1 | US8982064
简单同族成员数量:
8
简单同族被引用专利总数:
83
诉讼案件数:
0
法律状态/事件:
授权