首页
专利数据库
产业人才
行业动态
产业政策法规
维权援助
个人中心
登录/注册
详情
文本
图像
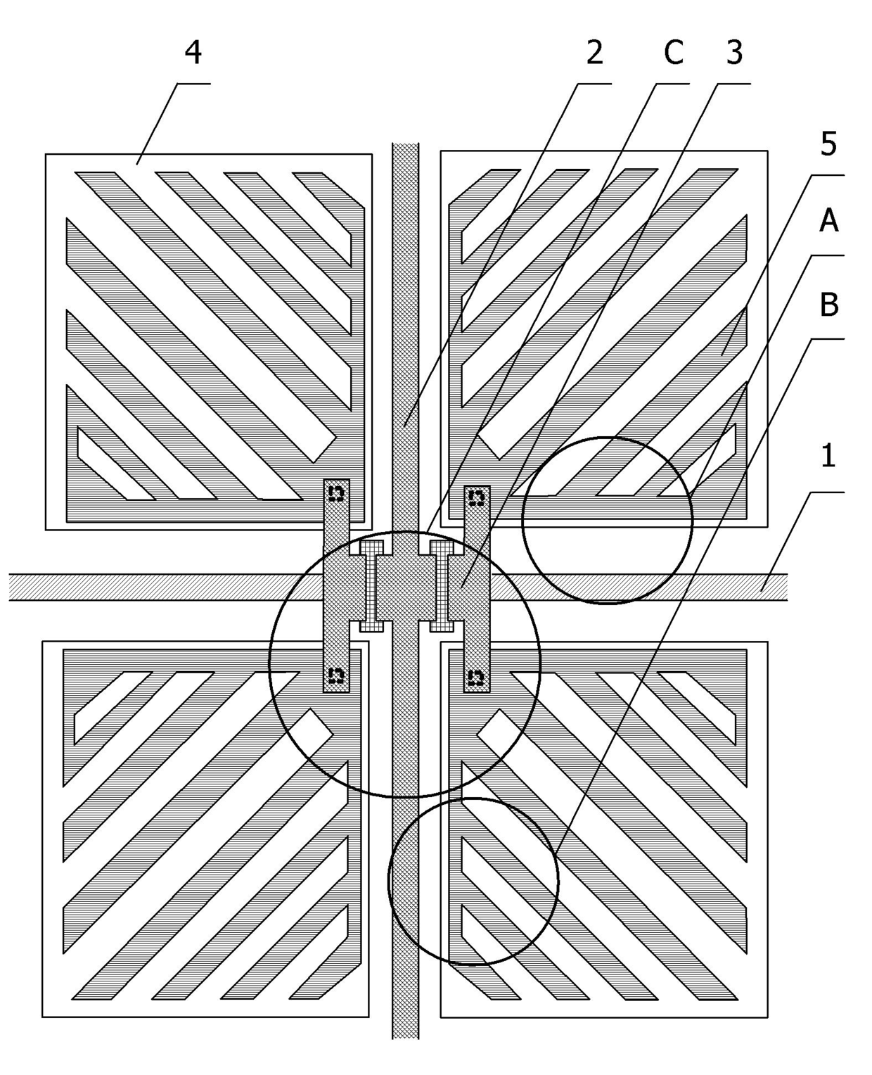
标题:
수평 전계형 액정 표시 장치용 픽셀 구조체
授权日:
1900-01-01
公开(公告)号:
KR1020090033309A
申请日:
2008-05-29
公开(公告)日:
2009-04-02
当前申请(专利权)人:
베이징 비오이 옵토일렉트로닉스 테크놀로지 컴퍼니 리미티드
发明人:
KIM, JAIKWANG
简单同族:
CN101398587A | CN101398587B | JP2009086629A | JP4819094B2 | KR101006202B1 | KR1020090033309A | US20090086149A1 | US7894031
简单同族成员数量:
8
简单同族被引用专利总数:
62
诉讼案件数:
0
法律状态/事件:
授权 | 权利转移