首页
专利数据库
产业人才
行业动态
产业政策法规
维权援助
个人中心
登录/注册
详情
文本
图像
标题:
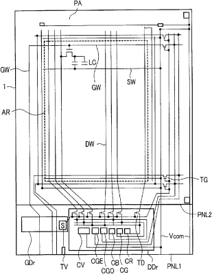
液晶显示装置
授权日:
2006-01-18
公开(公告)号:
CN1237385C
申请日:
2003-07-31
公开(公告)日:
2006-01-18
当前申请(专利权)人:
株式会社日本显示器 | 松下液晶显示器株式会社
发明人:
早田浩子 | 石毛信幸 | 米纳均
简单同族:
CN1237385C | CN1482508A | CN1782788A | CN1782788B | JP2004101863A | JP2004101863A5 | JP4006304B2 | US20040046920A1 | US20050157243A1 | US20070252830A1 | US6882397 | US7251009 | US7916261
简单同族成员数量:
13
简单同族被引用专利总数:
141
诉讼案件数:
0
法律状态/事件:
授权 | 许可 | 权利转移