首页
专利数据库
产业人才
行业动态
产业政策法规
维权援助
个人中心
登录/注册
详情
文本
图像
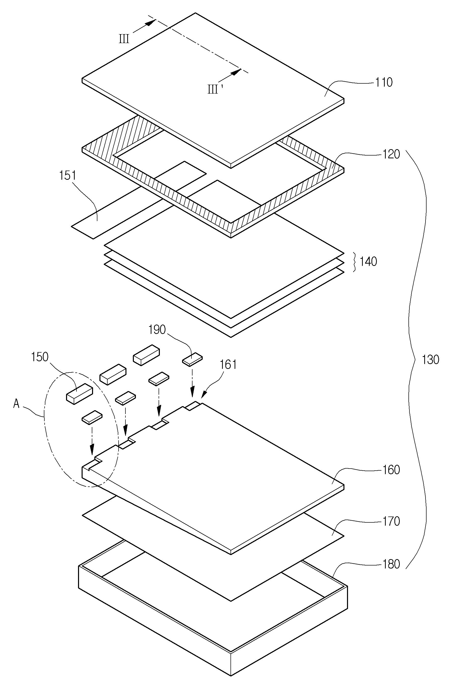
标题:
백라이트 어셈블리 및 이를 구비한 액정표시장치
授权日:
1900-01-01
公开(公告)号:
KR1020080001753A
申请日:
2006-06-30
公开(公告)日:
2008-01-04
当前申请(专利权)人:
엘지디스플레이 주식회사
发明人:
OH, JI SOON
简单同族:
CN101097340A | CN101097340B | KR100920118B1 | KR1020080001753A | US20080002099A1 | US7548287
简单同族成员数量:
6
简单同族被引用专利总数:
80
诉讼案件数:
0
法律状态/事件:
授权