首页
专利数据库
产业人才
行业动态
产业政策法规
维权援助
个人中心
登录/注册
详情
文本
图像
标题:
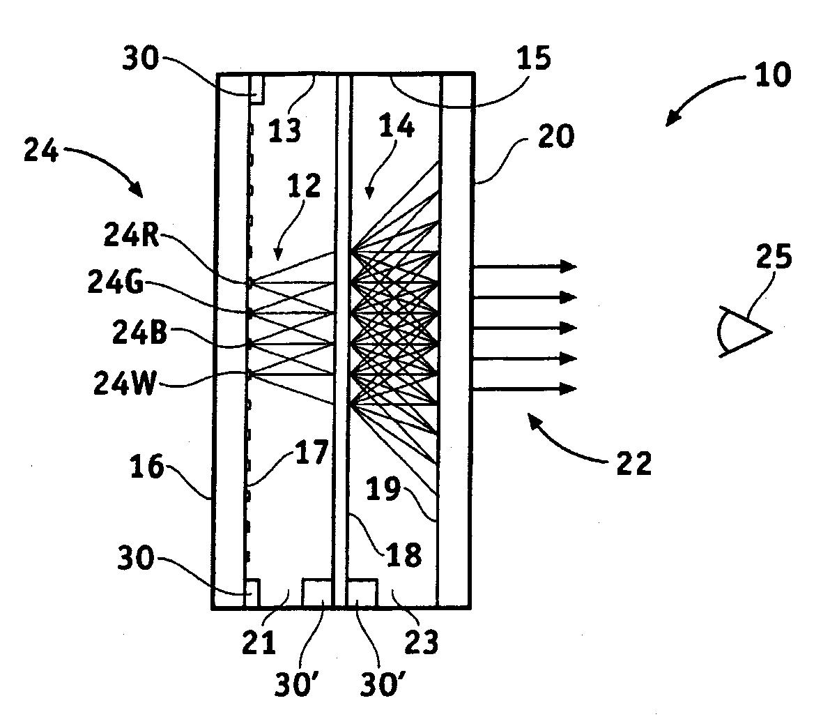
색도가 보상된 후면발광 디스플레이
授权日:
1900-01-01
公开(公告)号:
KR1020070022727A
申请日:
2005-05-24
公开(公告)日:
2007-02-27
当前申请(专利权)人:
허니웰 인터내셔널 인코포레이티드
发明人:
컬브라이언디. | 로닝에릭디. | 데이비데니스엠.
简单同族:
EP1749292A1 | JP2008500583A | JP5065015B2 | KR101184751B1 | KR1020070022727A | US20050259439A1 | US7339332 | WO2005116972A1
简单同族成员数量:
8
简单同族被引用专利总数:
92
诉讼案件数:
0
法律状态/事件:
授权