首页
专利数据库
产业人才
行业动态
产业政策法规
维权援助
个人中心
登录/注册
详情
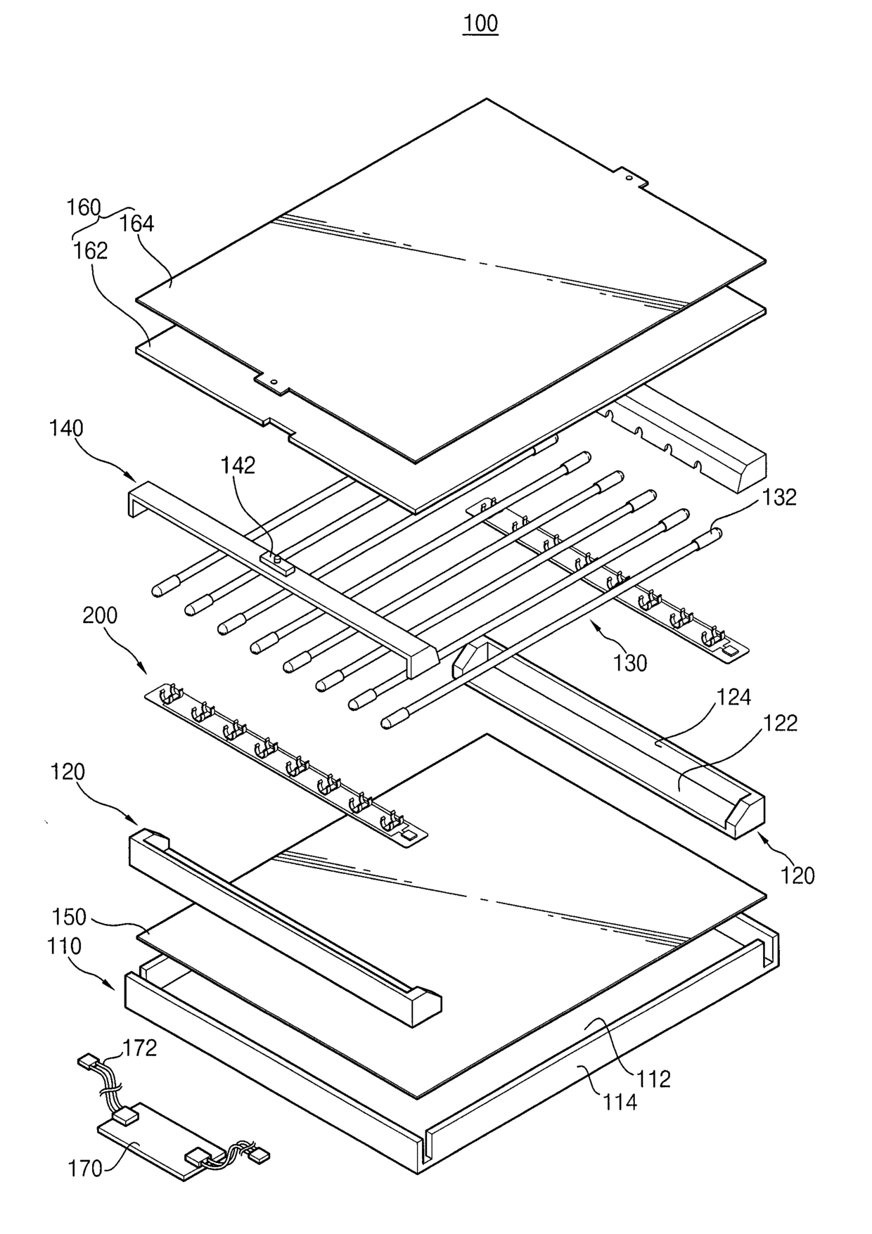
文本
图像
标题:
백라이트 어셈블리 및 이를 갖는 액정표시장치
授权日:
1900-01-01
公开(公告)号:
KR1020060131248A
申请日:
2005-06-15
公开(公告)日:
2006-12-20
当前申请(专利权)人:
삼성전자주식회사
发明人:
권윤수 | 강정태 | 박상훈 | 하진호 | 장웅재
简单同族:
CN1881030A | JP2006351527A | JP2006351527A5 | KR1020060131248A | US20060286831A1 | US7527406
简单同族成员数量:
6
简单同族被引用专利总数:
69
诉讼案件数:
0
法律状态/事件:
撤回