首页
专利数据库
产业人才
行业动态
产业政策法规
维权援助
个人中心
登录/注册
详情
文本
图像
标题:
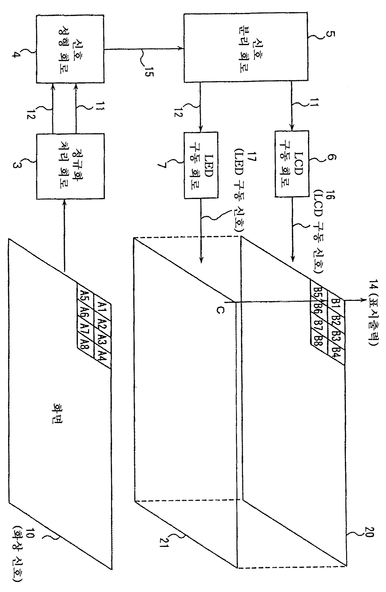
화상 신호 표시 장치
授权日:
1900-01-01
公开(公告)号:
KR1020060056256A
申请日:
2005-11-18
公开(公告)日:
2006-05-24
当前申请(专利权)人:
가부시키가이샤 히타치세이사쿠쇼
发明人:
이누즈까다쯔끼 | 야마모또쯔네노리 | 곤노아끼또요 | 히야마이꾸오
简单同族:
JP2006145798A | JP5116208B2 | KR100747488B1 | KR1020060056256A | US20060125771A1 | US7737930
简单同族成员数量:
6
简单同族被引用专利总数:
124
诉讼案件数:
0
法律状态/事件:
未缴年费