首页
专利数据库
产业人才
行业动态
产业政策法规
维权援助
个人中心
登录/注册
详情
文本
图像
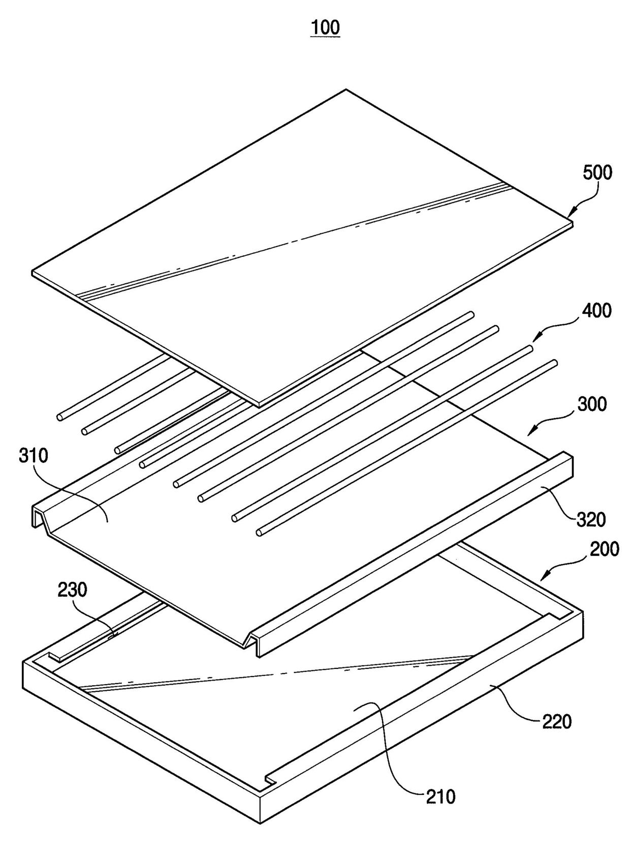
标题:
백라이트 어셈블리 및 이를 갖는 액정표시장치
授权日:
1900-01-01
公开(公告)号:
KR1020060057866A
申请日:
2004-11-24
公开(公告)日:
2006-05-29
当前申请(专利权)人:
삼성전자주식회사
发明人:
CHANG,SEIN
简单同族:
CN100462801C | CN1779524A | JP2006146126A | JP2006146126A5 | JP4758661B2 | KR101035848B1 | KR1020060057866A | TW200617521A | TWI443421B | US20060109643A1 | US7220045
简单同族成员数量:
11
简单同族被引用专利总数:
87
诉讼案件数:
0
法律状态/事件:
未缴年费 | 权利转移