首页
专利数据库
产业人才
行业动态
产业政策法规
维权援助
个人中心
登录/注册
详情
文本
图像
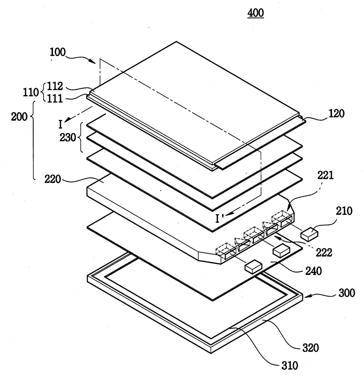
标题:
백라이트 어셈블리 및 이를 갖는 액정표시장치
授权日:
2010-10-15
公开(公告)号:
KR100989338B1
申请日:
2003-07-01
公开(公告)日:
2010-10-25
当前申请(专利权)人:
삼성전자주식회사
发明人:
한병웅 | 김규석 | 주영비
简单同族:
CN1577005A | CN1577005B | JP2005026222A | KR100989338B1 | KR1020050005353A | TW200508737A | US20050001952A1 | US7139048
简单同族成员数量:
8
简单同族被引用专利总数:
159
诉讼案件数:
0
法律状态/事件:
未缴年费 | 权利转移