首页
专利数据库
产业人才
行业动态
产业政策法规
维权援助
个人中心
登录/注册
详情
文本
图像
标题:
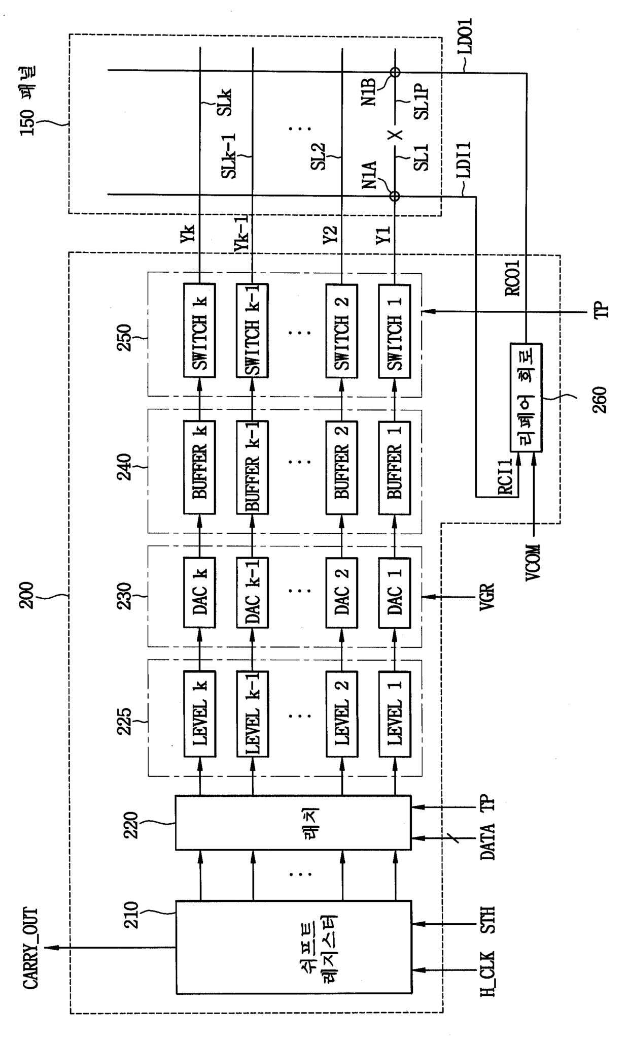
소스 라인 리페어 기능을 갖는 액정표시장치 및 소스 라인리페어 방법
授权日:
2006-07-26
公开(公告)号:
KR100608106B1
申请日:
2003-11-20
公开(公告)日:
2006-08-02
当前申请(专利权)人:
삼성전자주식회사
发明人:
김경면 | 최창휘
简单同族:
KR100608106B1 | KR1020050048878A | TW200519825A | TWI378430B | US20050110738A1 | US7436381
简单同族成员数量:
6
简单同族被引用专利总数:
76
诉讼案件数:
0
法律状态/事件:
未缴年费