首页
专利数据库
产业人才
行业动态
产业政策法规
维权援助
个人中心
登录/注册
详情
文本
图像
标题:
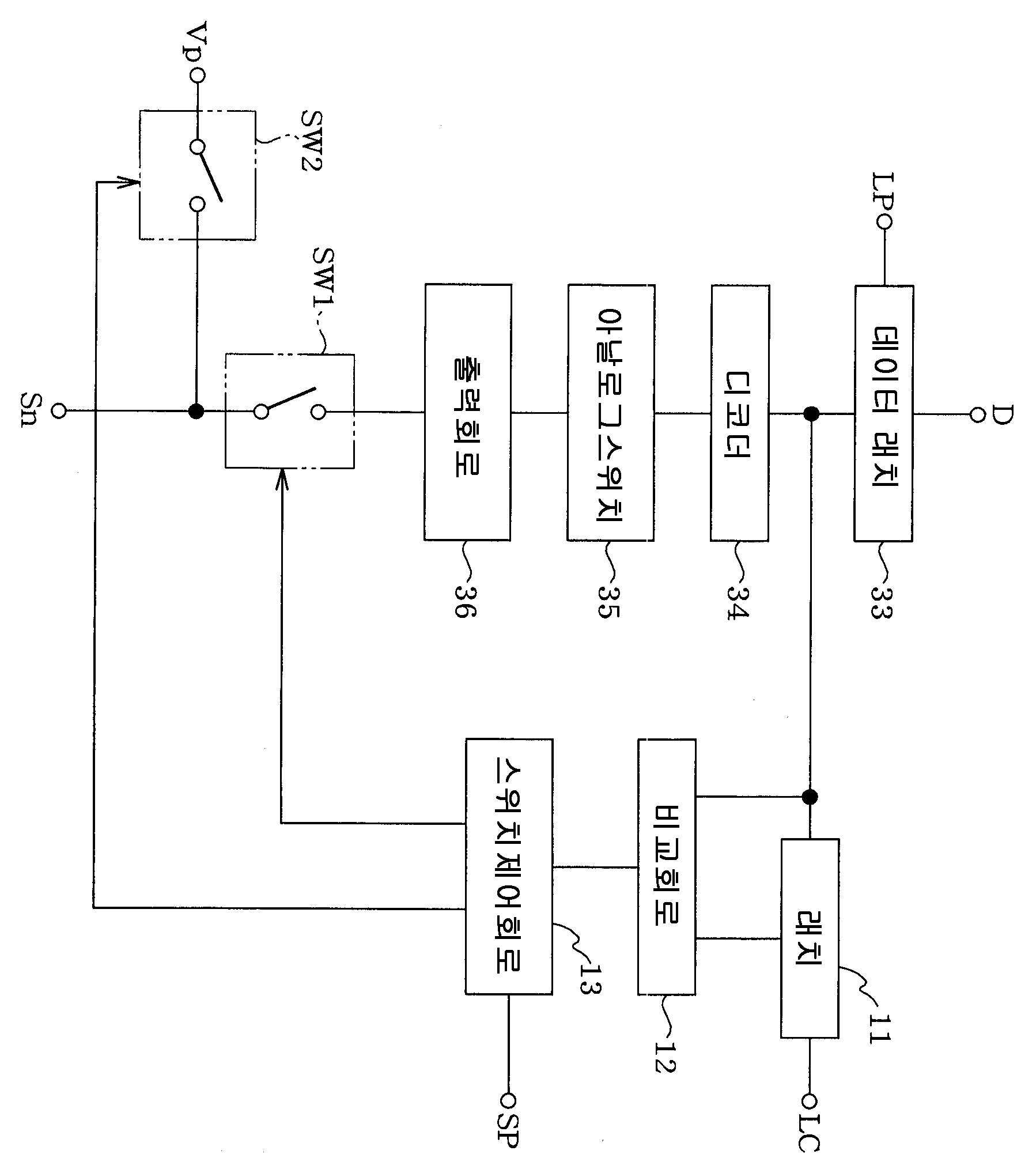
액정디스플레이의 신호선구동회로 및 신호선구동방법
授权日:
1900-01-01
公开(公告)号:
KR1020020064675A
申请日:
2002-02-01
公开(公告)日:
2002-08-09
当前申请(专利权)人:
르네사스 일렉트로닉스 가부시키가이샤
发明人:
KOSAKA,RYOSUKE
简单同族:
JP2002229525A | KR100601385B1 | KR1020020064675A | US20020105492A1 | US6914587
简单同族成员数量:
5
简单同族被引用专利总数:
93
诉讼案件数:
0
法律状态/事件:
放弃 | 异议