首页
专利数据库
产业人才
行业动态
产业政策法规
维权援助
个人中心
登录/注册
详情
文本
图像
标题:
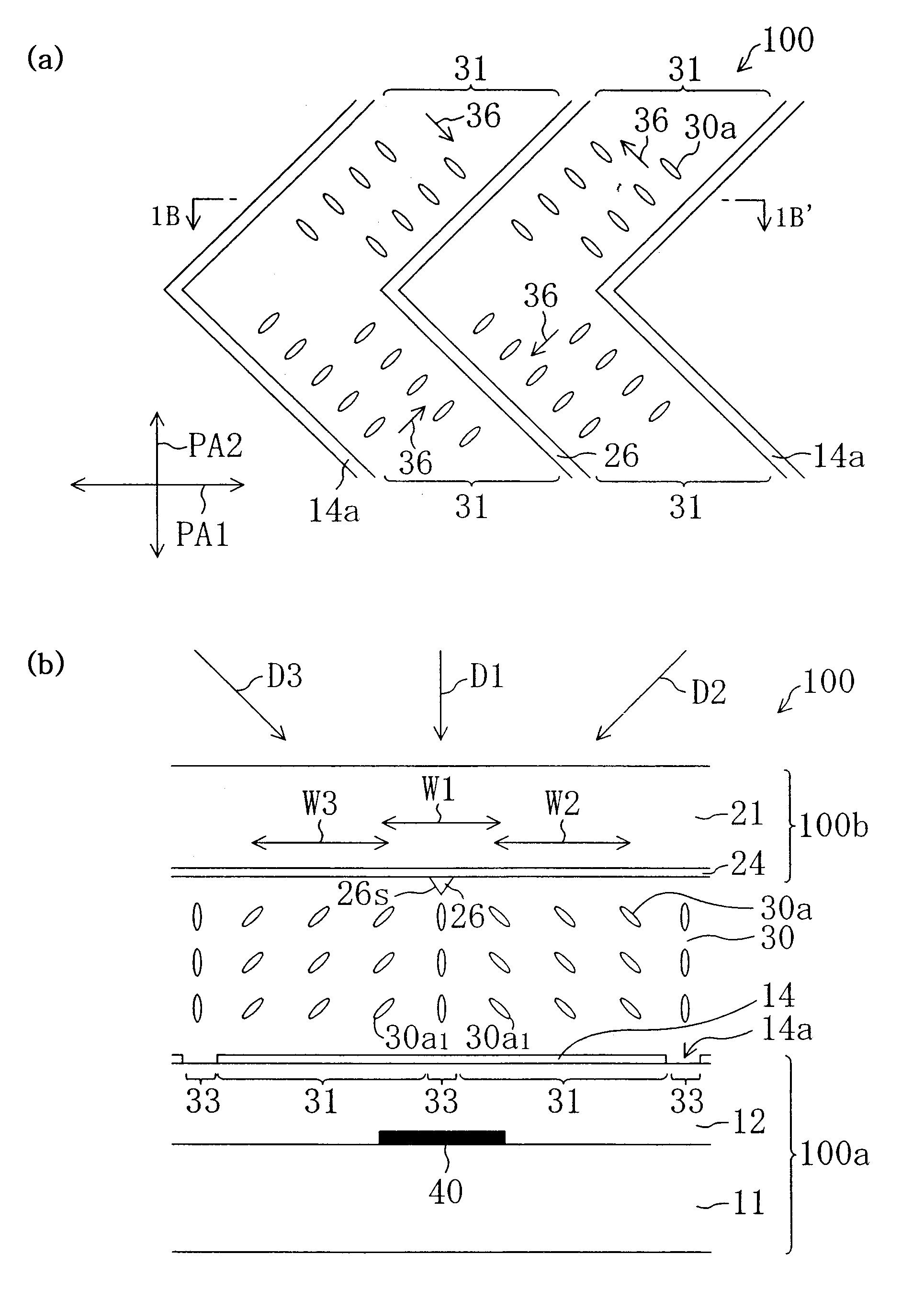
액정 표시 장치
授权日:
1900-01-01
公开(公告)号:
KR1020060069420A
申请日:
2006-06-05
公开(公告)日:
2006-06-21
当前申请(专利权)人:
샤프 가부시키가이샤
发明人:
오기시마기요시 | 구보마스미
简单同族:
CN1229672C | CN1490647A | JP2004093846A | JP4056326B2 | KR100624057B1 | KR100672888B1 | KR1020040020022A | KR1020060069420A | TW200424634A | TWI272437B | US20040041963A1 | US20080143898A1 | US7355664 | US7619708
简单同族成员数量:
14
简单同族被引用专利总数:
58
诉讼案件数:
0
法律状态/事件:
未缴年费