首页
专利数据库
产业人才
行业动态
产业政策法规
维权援助
个人中心
登录/注册
详情
文本
图像
标题:
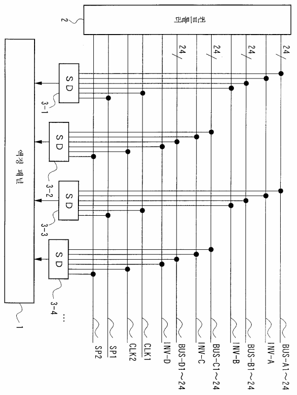
액정 표시 장치의 구동 회로
授权日:
1900-01-01
公开(公告)号:
KR1020010062081A
申请日:
2000-12-02
公开(公告)日:
2001-07-07
当前申请(专利权)人:
닛본 덴끼 가부시끼가이샤
发明人:
NISHIMURA,MITSUHISA
简单同族:
JP2001166740A | KR100368702B1 | KR1020010062081A | TW531726B | US20010002829A1 | US6628256
简单同族成员数量:
6
简单同族被引用专利总数:
72
诉讼案件数:
0
法律状态/事件:
未缴年费 | 权利转移