首页
专利数据库
产业人才
行业动态
产业政策法规
维权援助
个人中心
登录/注册
详情
文本
图像
标题:
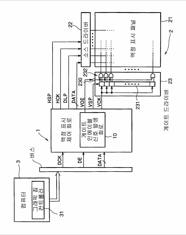
액정 표시 제어 회로
授权日:
2005-03-10
公开(公告)号:
KR100477624B1
申请日:
2002-07-11
公开(公告)日:
2005-03-22
当前申请(专利权)人:
엔엘티 테크놀로지 가부시키가이샤
发明人:
코가코이치 | 오쿠조노노보루 | 야마구치마치히코
简单同族:
CN100428318C | CN1397926A | JP2003029717A | JP4904641B2 | KR100477624B1 | KR1020030007110A | TW583626B | US20030011557A1 | US6894673
简单同族成员数量:
9
简单同族被引用专利总数:
53
诉讼案件数:
0
法律状态/事件:
授权 | 权利转移