标题:
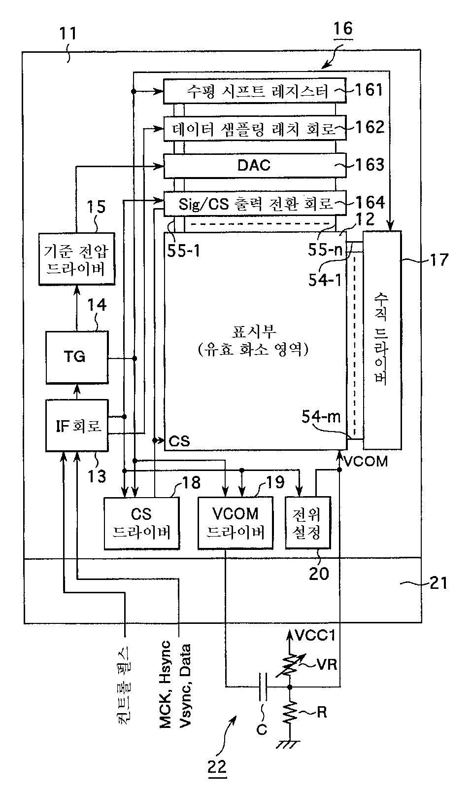
액정 표시 장치 및 그 제어 방법, 및 휴대 단말기
授权日:
2011-10-11
公开(公告)号:
KR101074567B1
申请日:
2003-05-30
公开(公告)日:
2011-10-17
当前申请(专利权)人:
소니 주식회사
发明人:
기다,요시또시 | 나까지마,요시하루 | 마에까와,도시까즈
简单同族:
CN100541588C | CN1547730A | JP2004004244A | JP4269582B2 | KR101074567B1 | KR1020050008630A | TW200407599A | TWI235267B | US20040196278A1 | US20070195037A1 | US20070195038A1 | US7209132 | US7796126 | US7864170 | WO2003102910A1
简单同族成员数量:
15
简单同族被引用专利总数:
60
诉讼案件数:
0
法律状态/事件:
授权 | 权利转移