专利数据库
统计分析
产业报告
专利数据监控
产业人才
行业动态
产业政策法规
维权援助
个人中心
详情
文本
图像
标题
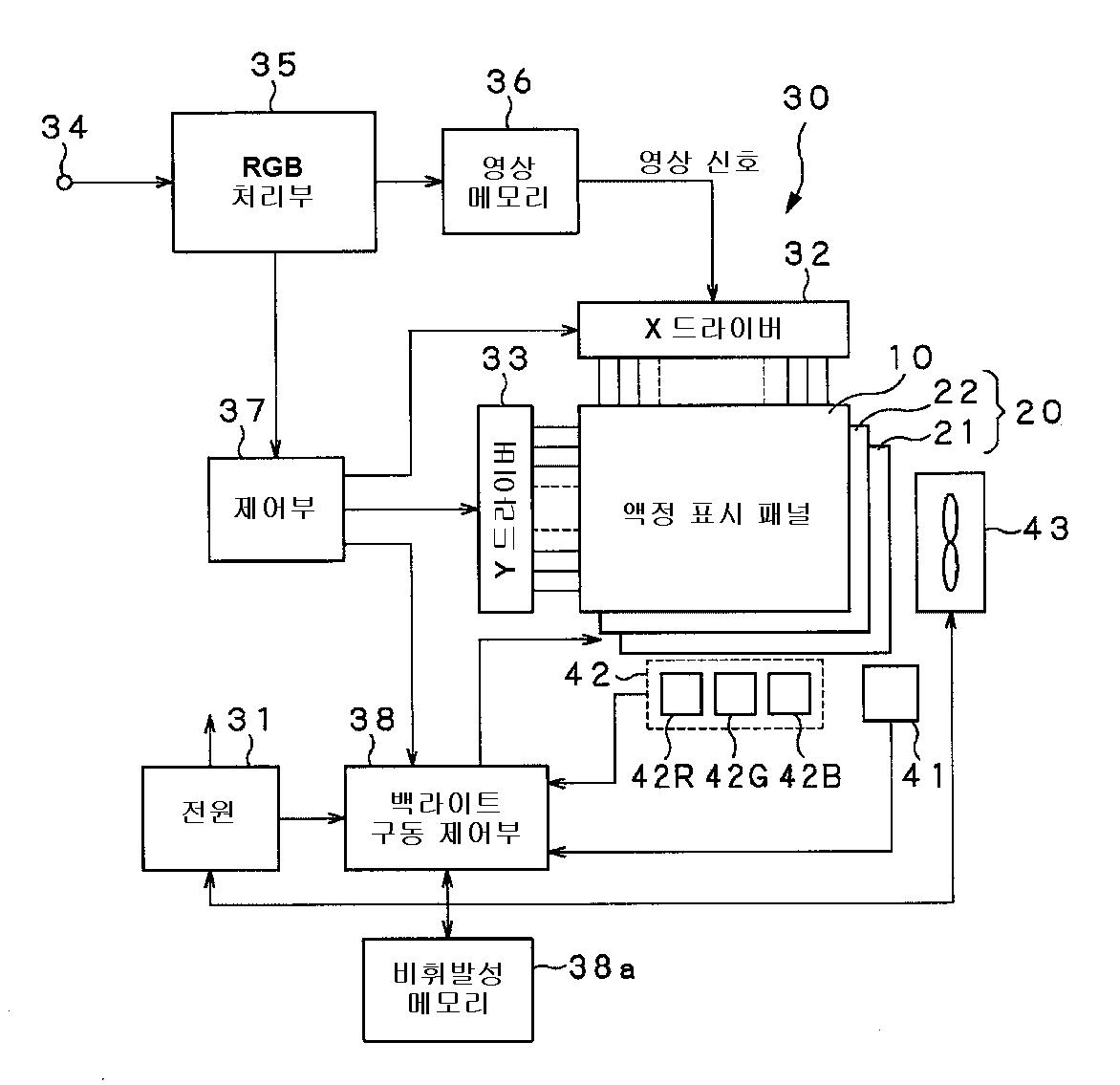
백라이트 장치, 백라이트 장치 구동 방법 및 액정 표시장치
授权日
1900-01-01
公开(公告)号
KR1020060056243A
申请日
2005-11-09
公开(公告)日
2006-05-24
当前申请(专利权)人
소니 주식회사
发明人
이치카와히로아키 | 키쿠치켄이치 | 하타지리키미오
简单同族
EP1675097A2 | EP1675097A3 | JP2006171693A | JP4539492B2 | KR101156391B1 | KR1020060056243A | TW200630708A | TWI335472B | US20060125773A1 | US7982706
简单同族成员数量
10
简单同族被引用专利总数
212
诉讼案件数
0
法律状态/事件
未缴年费
抱歉,您的浏览器不支持PDF预览,请点击链接下载PDF文件