专利数据库
统计分析
产业报告
专利数据监控
产业人才
行业动态
产业政策法规
维权援助
个人中心
详情
文本
图像
标题
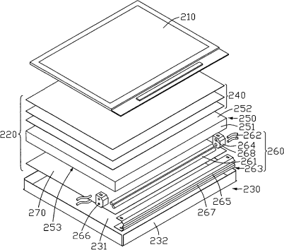
背光模组及液晶显示装置
授权日
2008-12-17
公开(公告)号
CN201166762Y
申请日
2008-02-01
公开(公告)日
2008-12-17
当前申请(专利权)人
群康科技(深圳)有限公司 | 群创光电股份有限公司
发明人
许育儒 | 张献文 | 简克伟 | 李文涛
简单同族
CN201166762Y
简单同族成员数量
1
简单同族被引用专利总数
0
诉讼案件数
0
法律状态/事件
未缴年费
抱歉,您的浏览器不支持PDF预览,请点击链接下载PDF文件