专利数据库
统计分析
产业报告
专利数据监控
产业人才
行业动态
产业政策法规
维权援助
个人中心
详情
文本
图像
标题
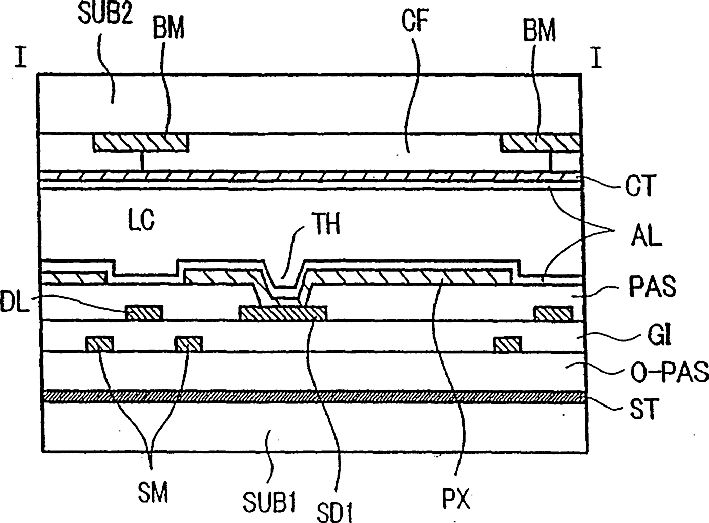
Liquid crystal display device, display device and manufacturing method thereof
授权日
1900-01-01
公开(公告)号
US20140253852A1
申请日
2014-05-22
公开(公告)日
2014-09-11
当前申请(专利权)人
JAPAN DISPLAY INC. | PANASONIC LIQUID CRYSTAL DISPLAY CO., LTD.
发明人
NAKAYOSHI, YOSHIAKI | YANAGAWA, KAZUHIKO
简单同族
CN100507693C | CN101030006A | CN1310065C | CN1412608A | JP2003195352A | JP2003195352A5 | JP2008242491A | JP4305811B2 | JP4740287B2 | KR100583705B1 | KR1020030031443A | TW589480B | US10330989 | US20030071931A1 | US20050280747A1 | US20060187371A1 | US20060203137A1 | US20080074570A1 | US20090079888A1 | US20120019747A1 | US20120127388A1 | US20120127410A1 | US20120133875A1 | US20130128175A1 | US20130286313A1 | US20140253852A1 | US20150241742A1 | US20160077391A1 | US20170010509A1 | US20190265558A1 | US6970222 | US7307673 | US7423701 | US7605876 | US7872696 | US8203661 | US8248548 | US8248549 | US8310641 | US8493522 | US8760609 | US9086600 | US9213204 | US9488880
简单同族成员数量
44
简单同族被引用专利总数
206
诉讼案件数
0
法律状态/事件
授权 | 权利转移
抱歉,您的浏览器不支持PDF预览,请点击链接下载PDF文件