专利数据库
统计分析
产业报告
专利数据监控
产业人才
行业动态
产业政策法规
维权援助
个人中心
详情
文本
图像
标题
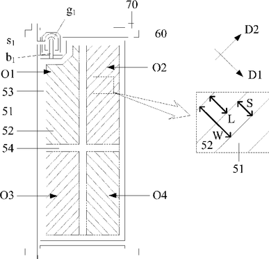
Liquid crystal display panel and array substrate thereof wherein a width of bar-shaped gaps in each of a plurality of pixel units increases gradually
授权日
2016-02-02
公开(公告)号
US9250485
申请日
2014-10-17
公开(公告)日
2016-02-02
当前申请(专利权)人
SHENZHEN CHINA STAR OPTOELECTRONICS TECHNOLOGY CO., LTD.
发明人
ZHENG, HUA
简单同族
US9250485
简单同族成员数量
1
简单同族被引用专利总数
0
诉讼案件数
0
法律状态/事件
授权 | 权利转移
抱歉,您的浏览器不支持PDF预览,请点击链接下载PDF文件