专利数据库
统计分析
产业报告
专利数据监控
产业人才
行业动态
产业政策法规
维权援助
个人中心
详情
文本
图像
标题
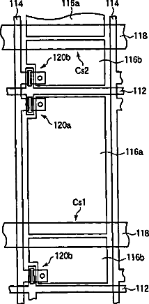
Liquid crystal display and method of manufacturing the same
授权日
2007-10-23
公开(公告)号
US7286200
申请日
2005-12-12
公开(公告)日
2007-10-23
当前申请(专利权)人
SHARP KABUSHIKI KAISHA
发明人
INOUE, HIROYASU | UEDA, KAZUYA | TASAKA, YASUTOSHI | YOSHIDA, HIDEFUMI | TASHIRO, KUNIHIRO | KAMADA, TSUYOSHI | NAKAMURA, KIMIAKI
简单同族
JP2004279904A | JP2004302267A | JP2004318077A | JP4408646B2 | KR100809190B1 | KR1020040082318A | TW200426468A | TWI303735B | US20050030458A1 | US20060087605A1 | US20060109406A1 | US20060125970A1 | US20100265442A1 | US20110075060A1 | US20120154701A1 | US7262824 | US7286200 | US7289178 | US7859500 | US8044907 | US8314760 | US8743036
简单同族成员数量
22
简单同族被引用专利总数
190
诉讼案件数
0
法律状态/事件
授权
抱歉,您的浏览器不支持PDF预览,请点击链接下载PDF文件