专利数据库
统计分析
产业报告
专利数据监控
产业人才
行业动态
产业政策法规
维权援助
个人中心
详情
文本
图像
标题
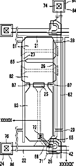
Liquid crystal display including a spacer element and method for fabricating the same
授权日
2010-11-30
公开(公告)号
US7843542
申请日
2008-06-23
公开(公告)日
2010-11-30
当前申请(专利权)人
SAMSUNG DISPLAY CO., LTD
发明人
MUN, JOONG-HYUN | SONG, JANG-KUN | CHOI, YONG-WOO | KIM, BO-SUNG | JUNG, KWAN-WOOK | LEE, JUNG-HO | NAM, HYO-RAK
简单同族
JP2002122869A | JP2002122869A5 | JP4298189B2 | TW573190B | US20020033927A1 | US20060158600A1 | US20060209245A1 | US20070263163A1 | US20080284964A1 | US20090128725A1 | US20100053485A1 | US20110037933A1 | US20110285952A1 | US20130083266A1 | US20140054591A1 | US20170160617A1 | US7057695 | US7486364 | US7525621 | US7639337 | US7830492 | US7843542 | US8009257 | US8319929 | US8599354 | US9577103
简单同族成员数量
26
简单同族被引用专利总数
188
诉讼案件数
0
法律状态/事件
授权 | 权利转移
抱歉,您的浏览器不支持PDF预览,请点击链接下载PDF文件