专利数据库
统计分析
产业报告
专利数据监控
产业人才
行业动态
产业政策法规
维权援助
个人中心
详情
文本
图像
标题
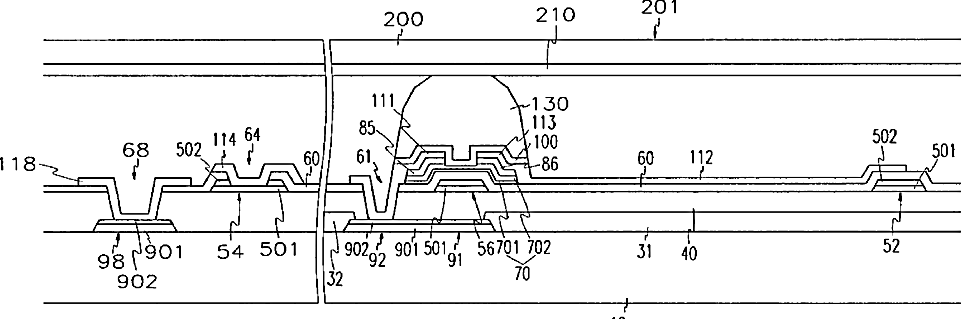
Thin film transistor array panel for a liquid crystal display and methods for manufacturing the same
授权日
2004-01-06
公开(公告)号
US6674495
申请日
2000-10-02
公开(公告)日
2004-01-06
当前申请(专利权)人
SAMSUNG DISPLAY CO., LTD.
发明人
HONG, MUN-PYO | HONG, WAN-SHICK | KIM, SANG-IL | RHO, SOO-GUY | KANG, JIN-KYU | KIM, SNAG-GAB
简单同族
CN1195243C | CN1290922A | JP2001166338A | JP2011186484A | JP5466665B2 | US20040046905A1 | US20040051103A1 | US20060231846A1 | US6674495 | US7190421 | US7220991 | US7675062
简单同族成员数量
12
简单同族被引用专利总数
292
诉讼案件数
0
法律状态/事件
授权 | 权利转移
抱歉,您的浏览器不支持PDF预览,请点击链接下载PDF文件