专利数据库
统计分析
产业报告
专利数据监控
产业人才
行业动态
产业政策法规
维权援助
个人中心
详情
文本
图像
标题
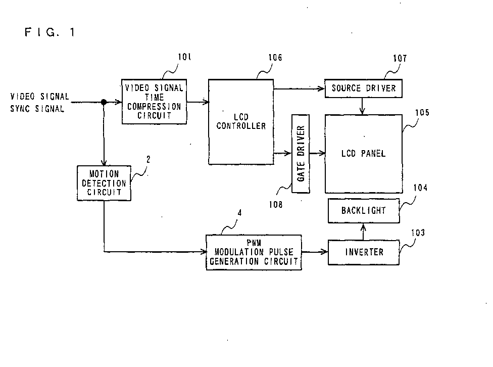
Image display and displaying method
授权日
1900-01-01
公开(公告)号
EP1376528A1
申请日
2002-03-20
公开(公告)日
2004-01-02
当前申请(专利权)人
PANASONIC CORPORATION
发明人
FUNAMOTO, TARO | MACHIDORI, WATARU | ARIMOTO, KATSUYUKI | OHTA, YOSHIHITO | KOBAYASHI, TAKAHIRO | KUMAMOTO, YASUHIRO | KARIYA, TETSUO
简单同族
CA2411168A1 | CA2411168C | CN1217308C | CN1460242A | EP1376528A1 | EP1376528A4 | EP1376528B1 | JP2002287700A | JP4210040B2 | KR100524456B1 | KR1020030046335A | TW541515B | US20030142118A1 | US6980225 | WO2002077959A1
简单同族成员数量
15
简单同族被引用专利总数
220
诉讼案件数
0
法律状态/事件
权利终止 | 权利转移
抱歉,您的浏览器不支持PDF预览,请点击链接下载PDF文件