专利数据库
统计分析
产业报告
专利数据监控
产业人才
行业动态
产业政策法规
维权援助
个人中心
详情
文本
图像
标题
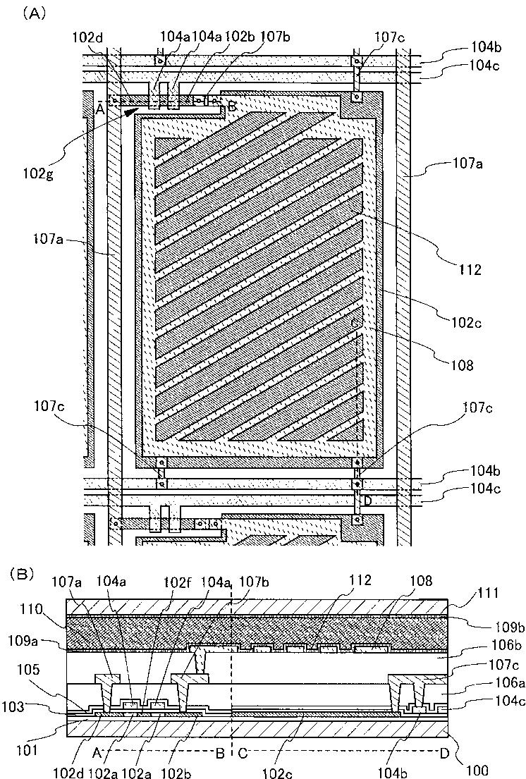
液晶表示装置
授权日
1900-01-01
公开(公告)号
JP2013254222A
申请日
2013-08-23
公开(公告)日
2013-12-19
当前申请(专利权)人
株式会社半導体エネルギー研究所
发明人
木村 肇
简单同族
CN101051134A | CN103257492A | CN104950536A | CN110262140A | EP1843194A1 | EP2924498A1 | JP2012053486A | JP2013011910A | JP2013225138A | JP2013254222A | JP2014002392A | JP2014044428A | JP2014056246A | JP2014056246A5 | JP2014143425A | JP2015148828A | JP2015156024A | JP2017037316A | JP2018128691A | JP2018128691A5 | JP2020013141A | JP5288665B2 | JP5323279B1 | JP5376740B2 | JP5470357B2 | JP5619247B2 | JP5755349B2 | JP6012798B2 | US10684517 | US20070236640A1 | US20110032435A1 | US20160154283A1 | US20190004380A1 | US9207504 | US9213206 | US9958736
简单同族成员数量
36
简单同族被引用专利总数
219
诉讼案件数
0
法律状态/事件
授权
抱歉,您的浏览器不支持PDF预览,请点击链接下载PDF文件