专利数据库
统计分析
产业报告
专利数据监控
产业人才
行业动态
产业政策法规
维权援助
个人中心
详情
文本
图像
标题
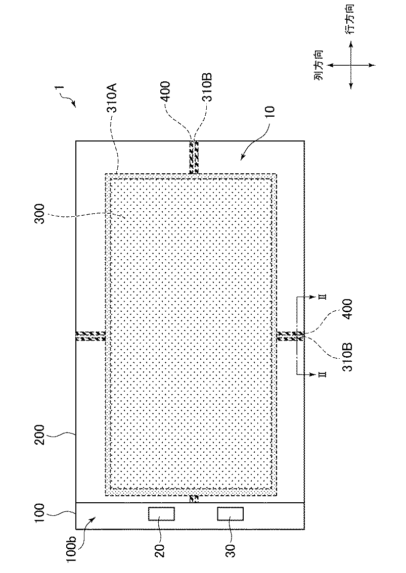
液晶表示装置及び液晶表示装置の製造方法
授权日
1900-01-01
公开(公告)号
JP2019179194A
申请日
2018-03-30
公开(公告)日
2019-10-17
当前申请(专利权)人
パナソニック液晶ディスプレイ株式会社
发明人
津田 和彦
简单同族
JP2019179194A
简单同族成员数量
1
简单同族被引用专利总数
0
诉讼案件数
0
法律状态/事件
公开
抱歉,您的浏览器不支持PDF预览,请点击链接下载PDF文件