专利数据库
统计分析
产业报告
专利数据监控
产业人才
行业动态
产业政策法规
维权援助
个人中心
详情
文本
图像
标题
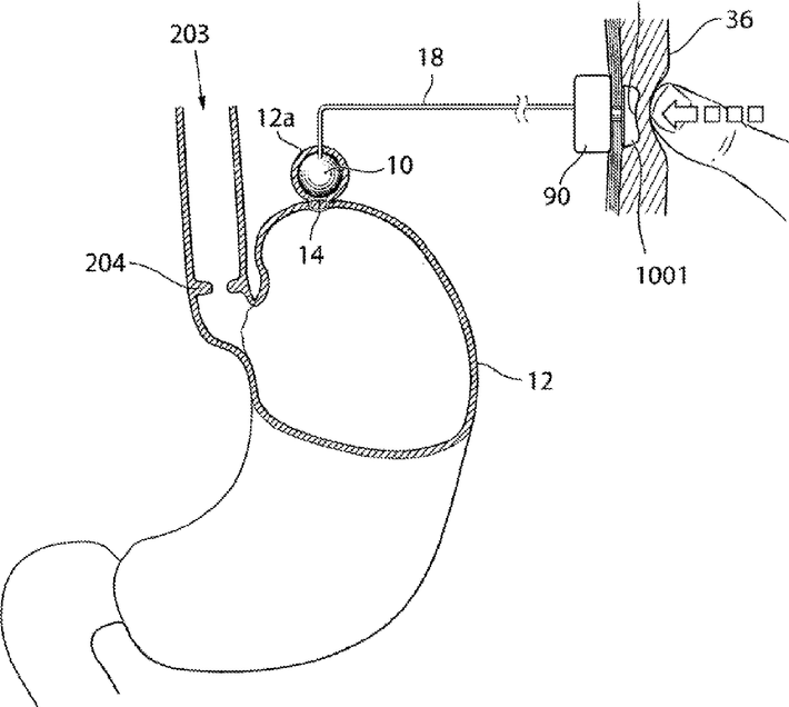
Method and instrument for treating obesity
授权日
1900-01-01
公开(公告)号
US20160022462A1
申请日
2015-06-18
公开(公告)日
2016-01-28
当前申请(专利权)人
FORSELL, PETER MATS
发明人
FORSELL, PETER, MATS
简单同族
AU2009209519A1 | AU2009209519B2 | AU2009209524A1 | AU2009209524B2 | AU2009209536A1 | AU2009302908A1 | AU2009302908B2 | AU2016210736A1 | AU2018204936A1 | AU2018204936B2 | BRPI0906746A2 | BRPI0906746A8 | BRPI0906747A2 | BRPI0906748A2 | BRPI0906748B1 | CA2749778A1 | CA2749782A1 | CA2749792A1 | CA2776479A1 | CN101980673A | CN101980673B | CN101980674A | CN102245133A | CN102245133B | CN104323877A | CN105361986A | CN105361986B | CN105997315A | CN105997315B | DK2240131T3 | EP2240127A1 | EP2240127A4 | EP2240128A1 | EP2240128A4 | EP2240128B1 | EP2240129A1 | EP2240129A4 | EP2240129B1 | EP2240130A1 | EP2240130A4 | EP2240131A1 | EP2240131A4 | EP2240131B1 | EP2240132A1 | EP2240132A4 | EP2240133A1 | EP2240133A4 | EP2240133B1 | EP2240134A1 | EP2240134A4 | EP2240135A1 | EP2240135A4 | EP2240136A1 | EP2240136A4 | EP2240137A1 | EP2240137A4 | EP2240138A1 | EP2240138A4 | EP2240139A1 | EP2240139A4 | EP2240139B1 | EP2240140A1 | EP2240140A4 | EP2249752A1 | EP2249752A4 | EP2249753A1 | EP2249753A4 | EP2349132A1 | EP2349132A4 | EP2349133A1 | EP2349133A4 | EP2349134A1 | EP2349134A4 | EP3072480A1 | EP3417837A1 | EP3421015A2 | EP3421015A3 | EP3434230A1 | EP3470024A1 | EP3476371A1 | ES2695374T3 | HK1149704A | HK1149704A1 | HK1149705A | HK1149706A | HK1159982A | HRP20181111T1 | HUE035306T2 | JP2011510740A | JP2011510740A5 | JP2012505023A | JP2012505023A5 | JP2015198991A | JP2016047475A | JP2016047475A5 | JP2017104640A | JP2018164743A | JP6110441B2 | JP6403698B2 | JP6527186B2 | JP6640926B2 | LT2240131T | MX2010008002A | MX2010008003A | MX2010008057A | MX331947B | MX334728B | PL2240131T3 | RU2011114564A | SE0900997A1 | SE0900997A2 | SE0901007A1 | SE0901007A2 | SE0901009A1 | SE0901009A2 | SE0901027A1 | SE0901027A2 | SI2240131T1 | US10045869 | US10449076 | US10548752 | US10639183 | US10653542 | US10653543 | US10660777 | US10695207 | US20100312047A1 | US20100312048A1 | US20100312049A1 | US20100312050A1 | US20100312356A1 | US20100324360A1 | US20100324361A1 | US20100324362A1 | US20100331614A1 | US20100331615A1 | US20100331616A1 | US20100331617A1 | US20100331945A1 | US20100332000A1 | US20110009894A1 | US20110009896A1 | US20110009897A1 | US20110172693A1 | US20110196197A1 | US20110196391A1 | US20110218394A1 | US20120022561A1 | US20120029551A1 | US20140148645A1 | US20140236212A1 | US20140330075A1 | US20150305851A1 | US20160022462A1 | US20160166418A1 | US20160324673A1 | US20160374843A1 | US20170165092A1 | US20170209292A1 | US20170348128A1 | US20180042746A1 | US20180085241A1 | US20180243118A1 | US20180353313A1 | US20190000654A1 | US20190380854A1 | US20200060856A1 | US20200085602A1 | US8567409 | US8636809 | US8992629 | US9060771 | US9259223 | US9277920 | US9375213 | US9445815 | US9526649 | US9561033 | US9642733 | US9681874 | US9687335 | US9877859 | US9956104 | WO2009096857A1 | WO2009096858A1 | WO2009096859A1 | WO2009096860A1 | WO2009096861A1 | WO2009096862A1 | WO2009096862A8 | WO2009096863A1 | WO2009096864A1 | WO2009096865A1 | WO2009096865A8 | WO2009096866A1 | WO2009096867A1 | WO2009096868A1 | WO2009096869A1 | WO2009096870A1 | WO2009096871A1 | WO2009096872A1 | WO2009096872A9 | WO2009096873A1 | WO2009096873A9 | WO2009096874A1 | WO2010042061A1 | WO2010042062A1 | WO2010042063A1
简单同族成员数量
208
简单同族被引用专利总数
228
诉讼案件数
0
法律状态/事件
授权 | 许可
抱歉,您的浏览器不支持PDF预览,请点击链接下载PDF文件