专利数据库
统计分析
产业报告
专利数据监控
产业人才
行业动态
产业政策法规
维权援助
个人中心
详情
文本
图像
标题
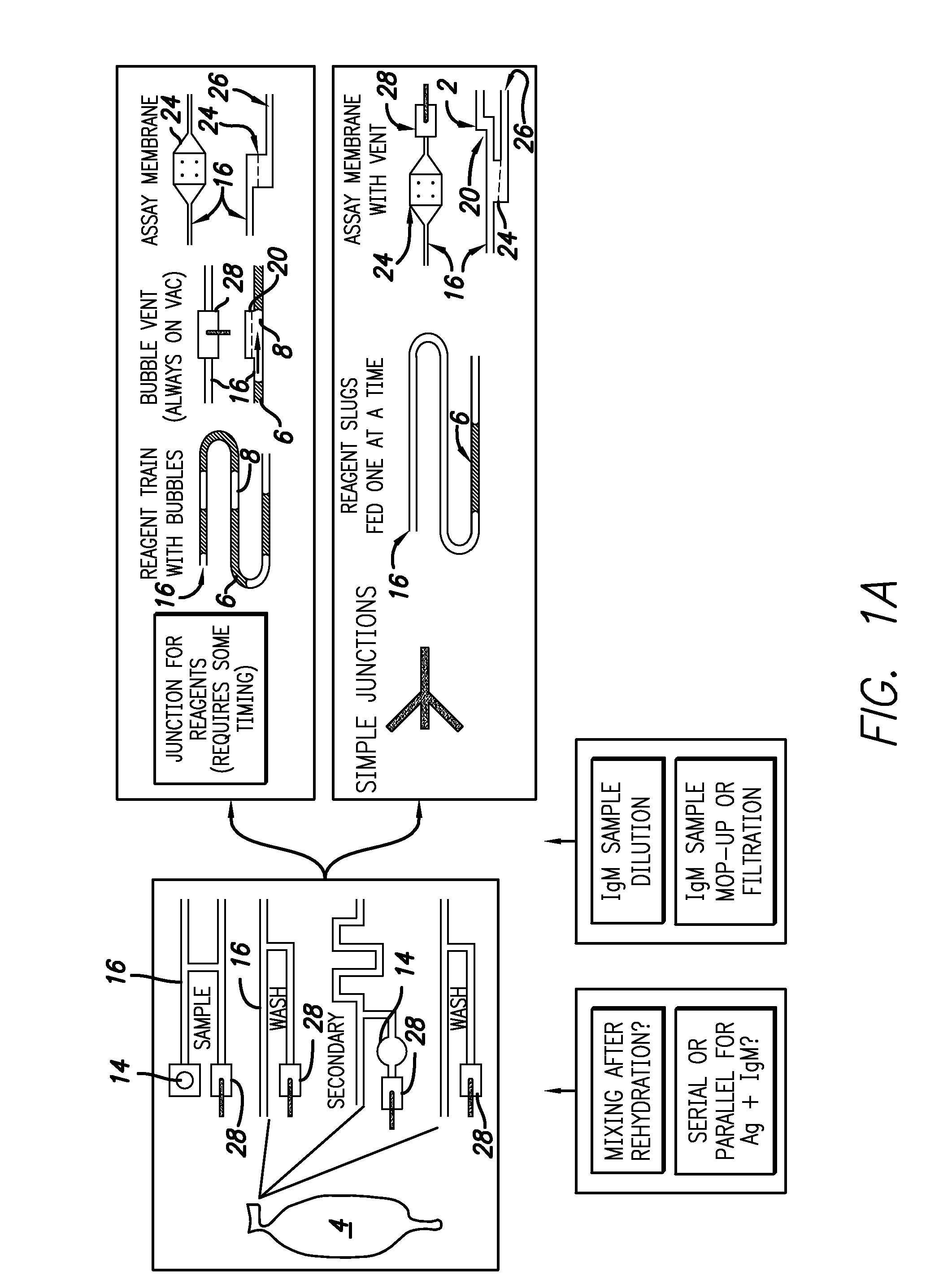
Microfluidic systems incorporating flow-through membranes
授权日
1900-01-01
公开(公告)号
US20110151479A1
申请日
2009-08-25
公开(公告)日
2011-06-23
当前申请(专利权)人
UNIVERSITY OF WASHINGTON
发明人
STEVENS, DEAN Y. | LAFLEUR, LISA K. | LUTZ, BERRY R. | SPICAR-MIHALIC, PAOLO | YAGER, PAUL
简单同族
US20110151479A1 | WO2010027812A2 | WO2010027812A3
简单同族成员数量
3
简单同族被引用专利总数
39
诉讼案件数
0
法律状态/事件
撤回 | 权利转移
抱歉,您的浏览器不支持PDF预览,请点击链接下载PDF文件