专利数据库
统计分析
产业报告
专利数据监控
产业人才
行业动态
产业政策法规
维权援助
个人中心
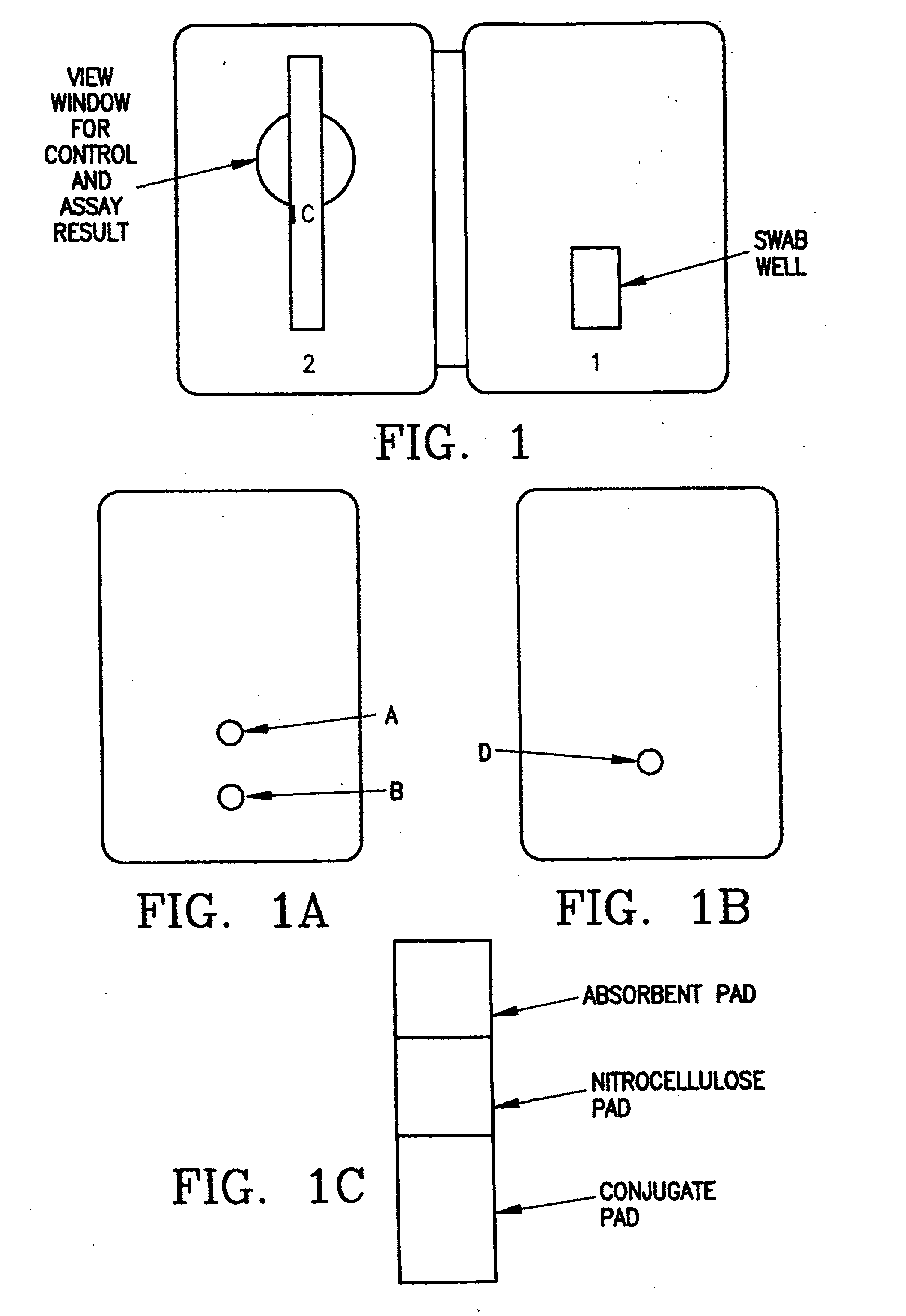
详情
文本
图像
标题
Method for Detection of Legionella Bacteria Employing Purified Antigen-Specific Antibodies
授权日
1900-01-01
公开(公告)号
US20160047807A1
申请日
2015-08-18
公开(公告)日
2016-02-18
当前申请(专利权)人
ALERE SCARBOROUGH, INC.
发明人
KOULCHIN, VLADIMIR A. | MOORE, NORMAN J. | MOLOKOVA, ELENA V.
简单同族
AU1999056933A1 | AU759633B2 | CA2342141A1 | CA2342141C | CN1136008C | CN1313771A | DE69934697D1 | DE69934697T2 | EP1107773A1 | EP1107773A4 | EP1107773B1 | ES2283129T3 | JP2002523030A | JP2002523030A5 | MXPA01002057A | US20160047807A1 | US9134303 | US9989529 | WO2000010584A1 | WO2000010584A9
简单同族成员数量
20
简单同族被引用专利总数
31
诉讼案件数
0
法律状态/事件
期限届满 | 权利转移
抱歉,您的浏览器不支持PDF预览,请点击链接下载PDF文件