专利数据库
统计分析
产业报告
专利数据监控
产业人才
行业动态
产业政策法规
维权援助
个人中心
详情
文本
图像
标题
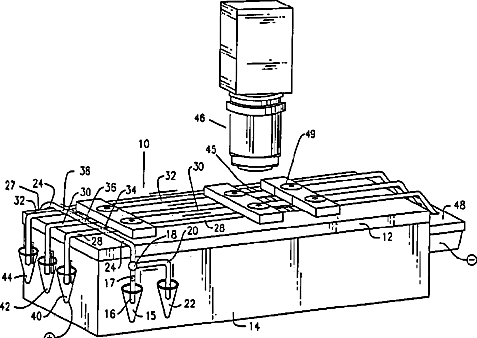
Electrophoresis process using a valve system
授权日
2012-05-22
公开(公告)号
US8182746
申请日
2007-10-31
公开(公告)日
2012-05-22
当前申请(专利权)人
PRINCETON BIOCHEMICALS, INC.
发明人
GUZMAN, NORBERTO A.
简单同族
CA2563310A1 | EP1706735A2 | EP1706735B1 | JP2007510935A | JP2007510935A5 | US10408789 | US20080223722A1 | US20160123925A1 | US20190331637A1 | US8182746 | WO2005047882A2 | WO2005047882A3
简单同族成员数量
12
简单同族被引用专利总数
32
诉讼案件数
0
法律状态/事件
授权 | 权利转移
抱歉,您的浏览器不支持PDF预览,请点击链接下载PDF文件