专利数据库
统计分析
产业报告
专利数据监控
产业人才
行业动态
产业政策法规
维权援助
个人中心
详情
文本
图像
标题
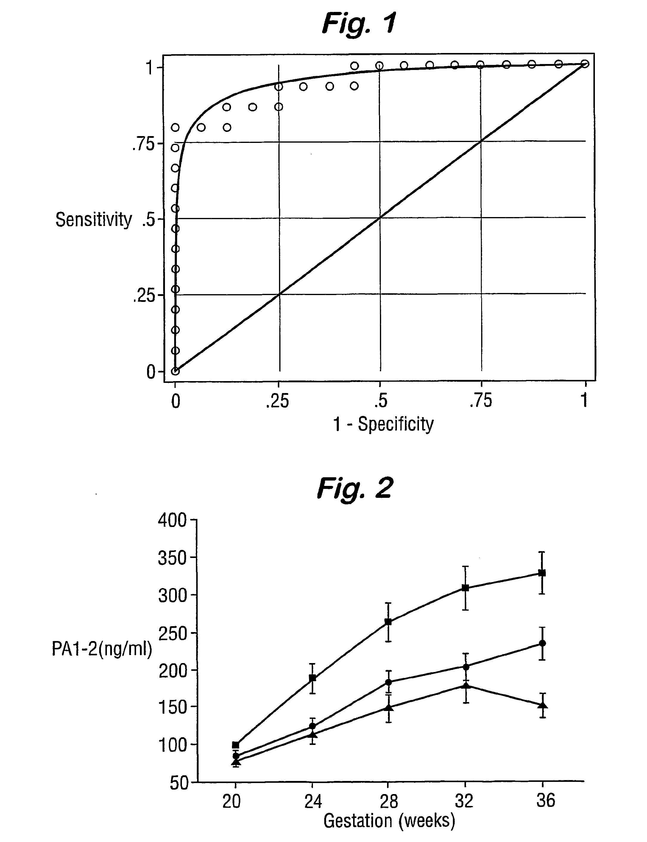
Diagnosis of pre-eclampsia
授权日
1900-01-01
公开(公告)号
US20040038305A1
申请日
2001-11-02
公开(公告)日
2004-02-26
当前申请(专利权)人
PERKINELMER LAS, INC.
发明人
POSTON, LUCILLA | SEED, PAUL TOWNSEND | HUNT, BEVERLEY JANE | CHAPPELL, LUEY CHARLOTTE
简单同族
AT319094T | AU2002012495A1 | AU2002212495A1 | AU2002212495B2 | CA2427645A1 | CA2427645C | DE60117592D1 | DE60117592T2 | DE60117592T8 | EP1330653A2 | EP1330653B1 | ES2256310T3 | GB0026823D0 | US20040038305A1 | US20090011429A1 | US20110300564A1 | US7425419 | US8017734 | US8283451 | WO2002037120A2 | WO2002037120A3
简单同族成员数量
21
简单同族被引用专利总数
59
诉讼案件数
0
法律状态/事件
授权 | 权利转移
抱歉,您的浏览器不支持PDF预览,请点击链接下载PDF文件