专利数据库
统计分析
产业报告
专利数据监控
产业人才
行业动态
产业政策法规
维权援助
个人中心
详情
文本
图像
标题
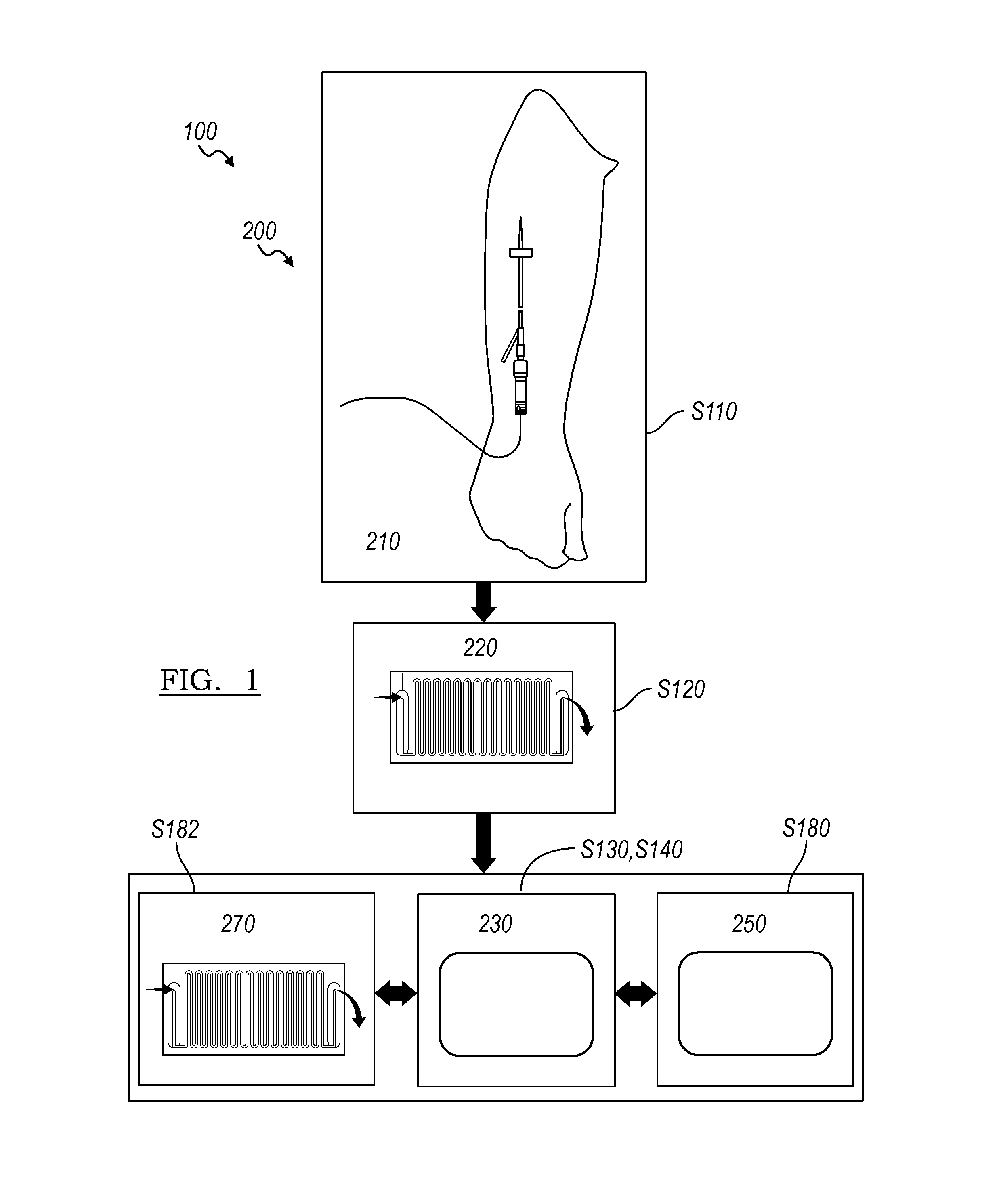
Microfluidic method and system for isolating particles from biological fluid
授权日
1900-01-01
公开(公告)号
US20140302160A1
申请日
2014-06-23
公开(公告)日
2014-10-09
当前申请(专利权)人
GENESTREAM, INC.
发明人
ACHROL, ACHAL SINGH | SETHU, PALANIAPPAN
简单同族
US20110020459A1 | US20140302160A1 | US8790916 | WO2010132862A1
简单同族成员数量
4
简单同族被引用专利总数
38
诉讼案件数
0
法律状态/事件
撤回
抱歉,您的浏览器不支持PDF预览,请点击链接下载PDF文件