专利数据库
统计分析
产业报告
专利数据监控
产业人才
行业动态
产业政策法规
维权援助
个人中心
详情
文本
图像
标题
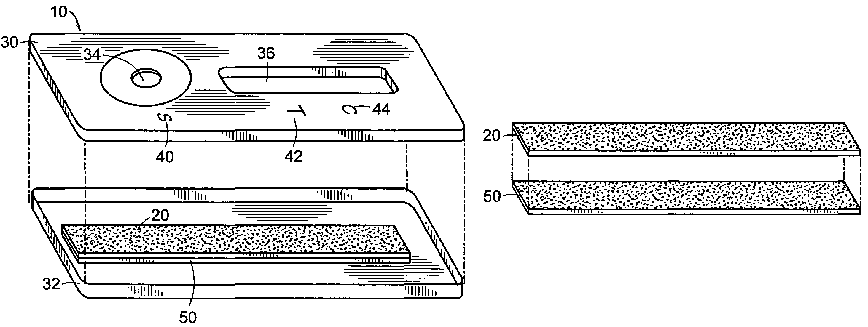
Lateral flow format, materials and methods
授权日
2011-01-11
公开(公告)号
US7867780
申请日
2005-03-30
公开(公告)日
2011-01-11
当前申请(专利权)人
GE HEALTHCARE BIO-SCIENCES CORP.
发明人
JONES, KEVIN D. | COX, DAVID
简单同族
AU2005231107A1 | AU2005231107B2 | AU2005231107B8 | CA2561343A1 | CA2561343C | CN102768273A | CN102768273B | CN1954214A | CN1954214B | EP1733233A2 | EP1733233A4 | EP1733233B1 | HK1099362A | HK1099362A1 | HK1178599A | JP2007531882A | JP4980884B2 | US20060040408A1 | US7867780 | WO2005098439A2 | WO2005098439A3
简单同族成员数量
21
简单同族被引用专利总数
138
诉讼案件数
0
法律状态/事件
授权 | 权利转移
抱歉,您的浏览器不支持PDF预览,请点击链接下载PDF文件