专利数据库
统计分析
产业报告
专利数据监控
产业人才
行业动态
产业政策法规
维权援助
个人中心
详情
文本
图像
标题
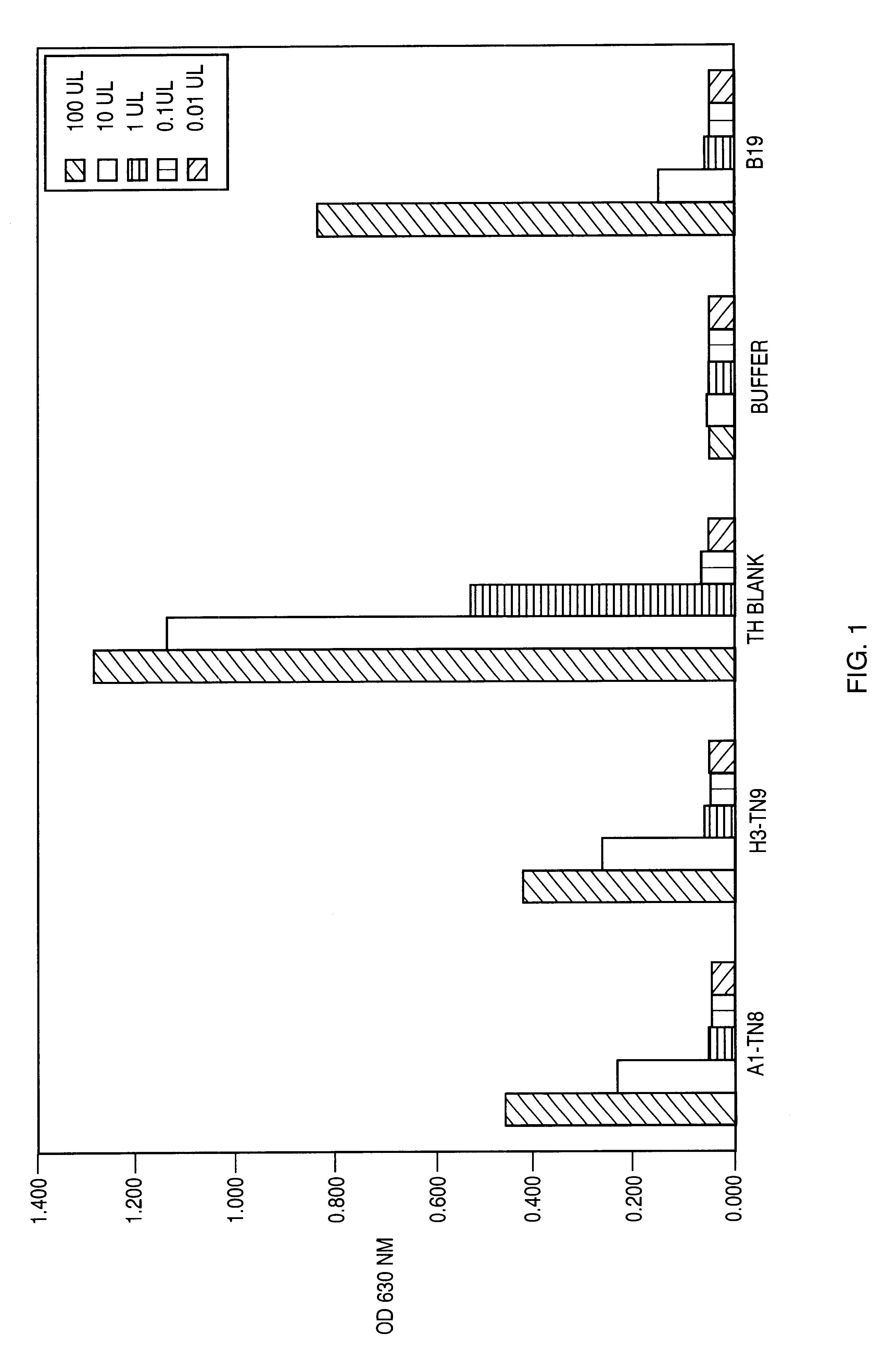
Binding moieties for human parvovirus B19
授权日
2002-11-12
公开(公告)号
US6479641
申请日
2001-06-14
公开(公告)日
2002-11-12
当前申请(专利权)人
DYAX CORP.
发明人
WHELIHAN, E. FAYELLE
简单同族
AU2000018149A1 | CA2348684A1 | EP1126864A1 | EP1126864A4 | US20020031761A1 | US6238860 | US6291197 | US6479641 | WO2000025807A1 | WO2000025807A9
简单同族成员数量
10
简单同族被引用专利总数
35
诉讼案件数
0
法律状态/事件
期限届满 | 权利转移
抱歉,您的浏览器不支持PDF预览,请点击链接下载PDF文件