专利数据库
统计分析
产业报告
专利数据监控
产业人才
行业动态
产业政策法规
维权援助
个人中心
详情
文本
图像
标题
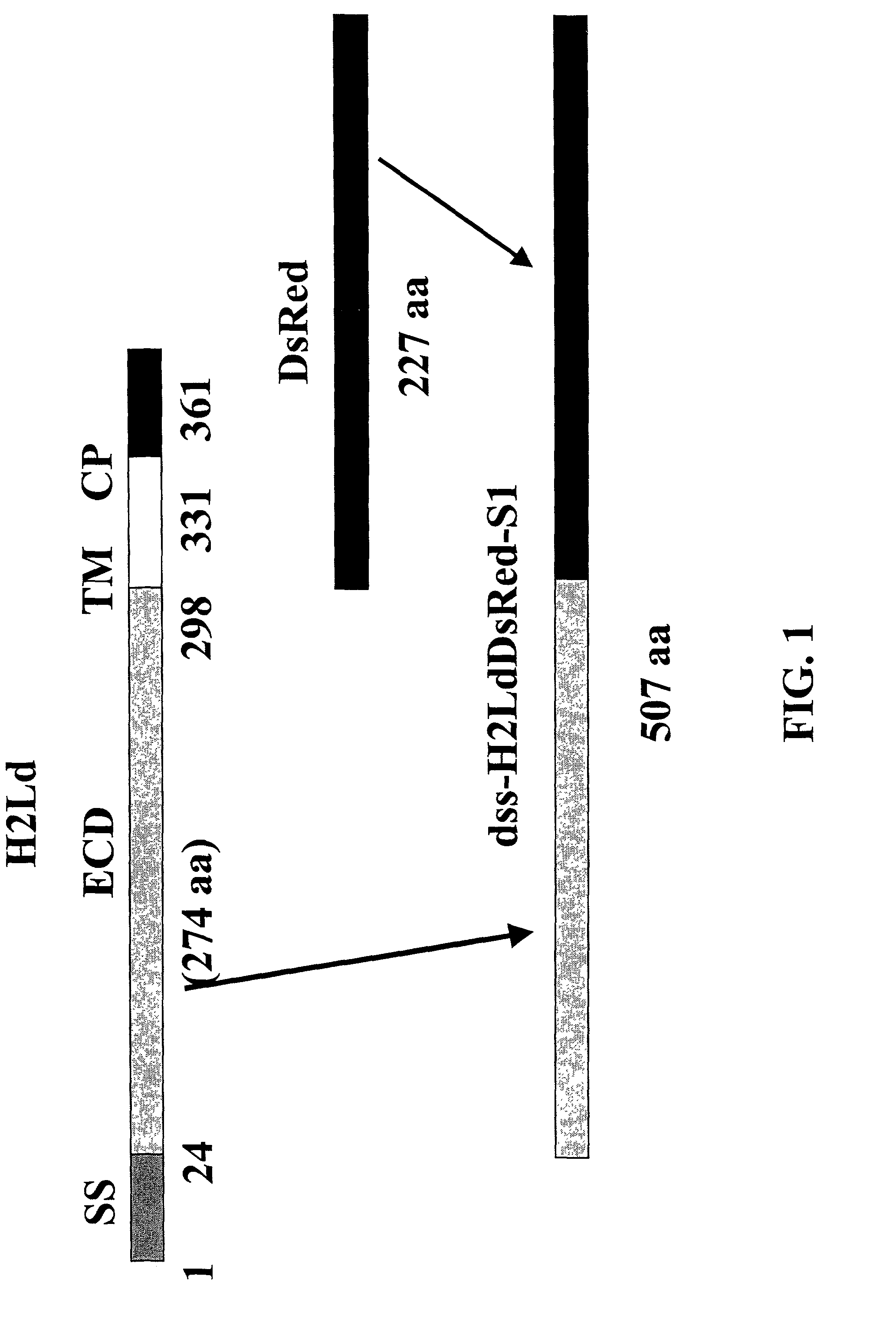
Intrinsically fluorescent, self-multimerizing MHC fusion proteins and complexes thereof
授权日
2007-04-10
公开(公告)号
US7202349
申请日
2002-01-11
公开(公告)日
2007-04-10
当前申请(专利权)人
BECTON, DICKINSON AND COMPANY
发明人
DAVIS, KENNETH A. | WEI, BING-YUAN
简单同族
AT359812T | DE60219592D1 | DE60219592T2 | EP1349569A2 | EP1349569A4 | EP1349569B1 | JP2004524019A | US20020115157A1 | US7202349 | WO2002055992A2 | WO2002055992A3
简单同族成员数量
11
简单同族被引用专利总数
39
诉讼案件数
0
法律状态/事件
未缴年费 | 权利转移
抱歉,您的浏览器不支持PDF预览,请点击链接下载PDF文件