专利数据库
统计分析
产业报告
专利数据监控
产业人才
行业动态
产业政策法规
维权援助
个人中心
详情
文本
图像
标题
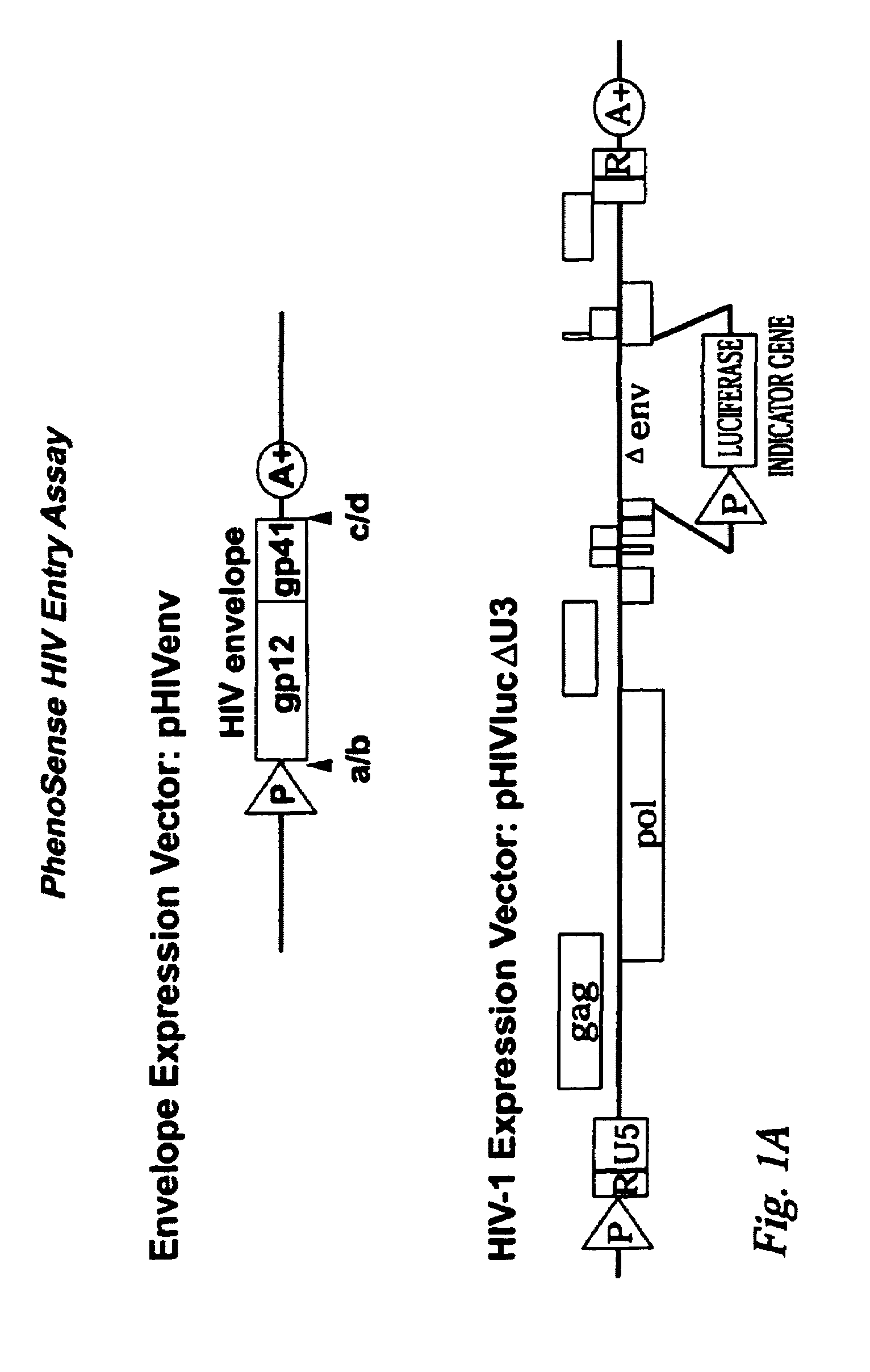
Method of evaluating a patient antibody response to envelope proteins of a virus
授权日
2007-07-24
公开(公告)号
US7247439
申请日
2002-02-15
公开(公告)日
2007-07-24
当前申请(专利权)人
MONOGRAM BIOSCIENCES, INC.
发明人
RICHMAN, DOUGLAS | WRIN, MARY T. | LITTLE, SUSAN | PETROPOULOS, CHRISTOS J. | PARKIN, NEIL T. | WHITCOMB, JEANNETTE M. | HUANG, WEI
简单同族
AR038556A1 | AU2003217399A1 | CA2476365A1 | CA2476365C | CN1646706A | EP1481098A1 | EP1481098A4 | EP1481098B1 | EP2363506A1 | EP2363506B1 | EP2808404A1 | EP2808404B1 | ES2474193T3 | ES2478943T3 | ES2633990T3 | HK1073486A | HK1073486A1 | HK1169145A | HK1169145A1 | JP2006506944A | TW200303922A | US20050214743A1 | US20110033836A1 | US20160209411A1 | US20190025305A1 | US7247439 | US9175355 | US9841425 | WO2003070985A1
简单同族成员数量
29
简单同族被引用专利总数
44
诉讼案件数
0
法律状态/事件
授权 | 质押 | 权利转移
抱歉,您的浏览器不支持PDF预览,请点击链接下载PDF文件