专利数据库
统计分析
产业报告
专利数据监控
产业人才
行业动态
产业政策法规
维权援助
个人中心
详情
文本
图像
标题
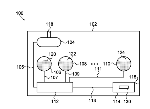
Kits, compositions and methods for detecting a biological condition
授权日
2018-06-05
公开(公告)号
US9989523
申请日
2015-11-16
公开(公告)日
2018-06-05
当前申请(专利权)人
ACCELLIX LTD.
发明人
KASDAN, HARVEY LEE | MEISSONNIER, JULIEN | ZUTA, YOAV | DAVIS, BRUCE | ROSEN, MICHA | HIMMEL, YAEL | BRODER, YEHOSHUA
简单同族
US20140170678A1 | US20140287435A1 | US20150132776A1 | US20150293095A1 | US20150330971A1 | US20160146793A1 | US20180231532A1 | US8945913 | US9207239 | US9746462 | US9989523
简单同族成员数量
11
简单同族被引用专利总数
36
诉讼案件数
0
法律状态/事件
授权 | 权利转移
抱歉,您的浏览器不支持PDF预览,请点击链接下载PDF文件