专利数据库
统计分析
产业报告
专利数据监控
产业人才
行业动态
产业政策法规
维权援助
个人中心
详情
文本
图像
标题
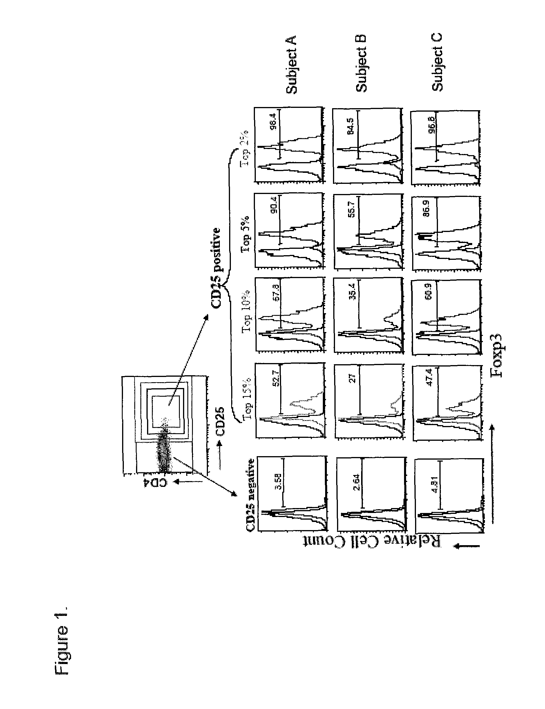
CD127 expression inversely correlates with FoxP3 and suppressive function of CD4+ Tregs
授权日
2015-04-21
公开(公告)号
US9012134
申请日
2007-05-31
公开(公告)日
2015-04-21
当前申请(专利权)人
THE REGENTS OF THE UNIVERSITY OF CALIFORNIA
发明人
BLUESTONE, JEFFREY A. | LIU, WEIHONG | PUTNAM, AMY
简单同族
AU2007266450A1 | CA2655392A1 | EP2032695A2 | EP2032695A4 | EP2032695B1 | EP3431585A1 | ES2686593T3 | US20080131445A1 | US20150192582A1 | US20180238880A1 | US9012134 | US9977021 | WO2007140472A2 | WO2007140472A3
简单同族成员数量
14
简单同族被引用专利总数
58
诉讼案件数
0
法律状态/事件
授权
抱歉,您的浏览器不支持PDF预览,请点击链接下载PDF文件