专利数据库
统计分析
产业报告
专利数据监控
产业人才
行业动态
产业政策法规
维权援助
个人中心
详情
文本
图像
标题
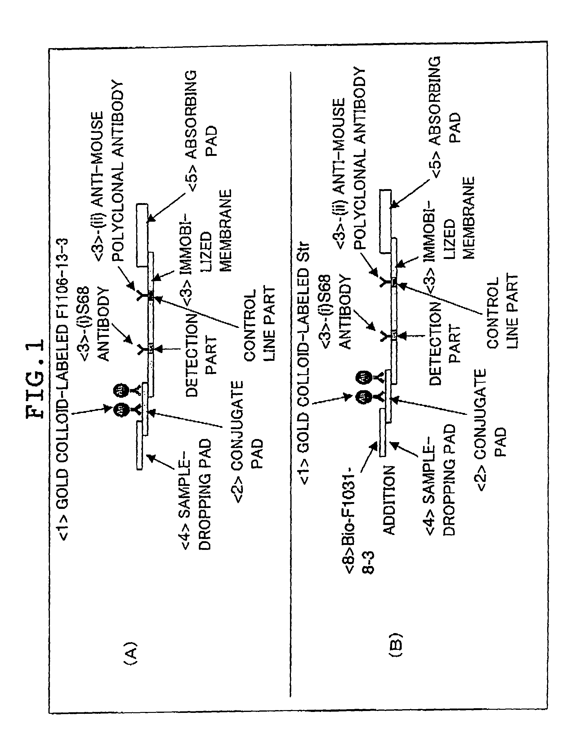
Assay kit and antibody for human low molecular weight CD14
授权日
2011-03-08
公开(公告)号
US7901900
申请日
2007-12-04
公开(公告)日
2011-03-08
当前申请(专利权)人
MOCHIDA PHARMACEUTICAL CO., LTD.
发明人
FURUSAKO, SHOJI | SHIRAKAWA, KAMON
简单同族
AT460430T | AU2003280753A1 | CA2506580A1 | CA2506580C | CN100558746C | CN1711283A | DE60331677D1 | EP1571160A1 | EP1571160A4 | EP1571160B1 | ES2340266T3 | JP4081489B2 | JPWO2004044005A1 | JPWO2004044005A5 | US20070106067A1 | US20090029396A1 | US7465547 | US7901900 | WO2004044005A1
简单同族成员数量
19
简单同族被引用专利总数
72
诉讼案件数
0
法律状态/事件
授权
抱歉,您的浏览器不支持PDF预览,请点击链接下载PDF文件