专利数据库
统计分析
产业报告
专利数据监控
产业人才
行业动态
产业政策法规
维权援助
个人中心
详情
文本
图像
标题
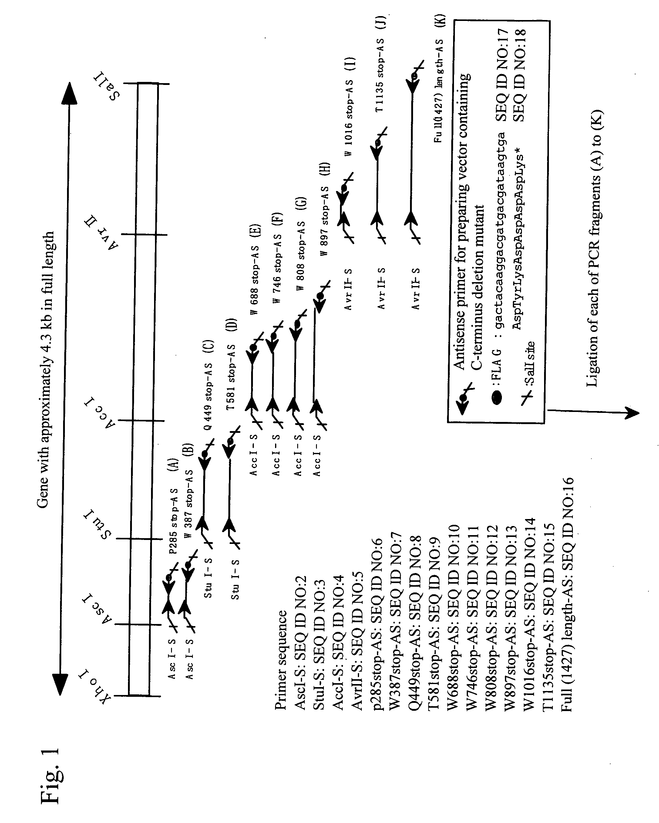
Construct comprising recognition domain of antibody against von willebrand factor-specific cleaving enzyme
授权日
1900-01-01
公开(公告)号
US20060240476A1
申请日
2004-03-17
公开(公告)日
2006-10-26
当前申请(专利权)人
KM BIOLOGICS CO., LTD.
发明人
SOEJIMA, KENJI | NAKAGAKI, TOMOHIRO | MATSUMOTO, MASANORI
简单同族
AU2004221982A1 | AU2004221982B2 | CA2519258A1 | CA2519258C | CN1791614A | CN1791614B | EP1609804A1 | EP1609804A4 | EP1609804B1 | JP4680770B2 | JPWO2004083250A1 | US20060240476A1 | US7572591 | WO2004083250A1 | WO2004083250A9
简单同族成员数量
15
简单同族被引用专利总数
31
诉讼案件数
0
法律状态/事件
授权 | 权利转移
抱歉,您的浏览器不支持PDF预览,请点击链接下载PDF文件