专利数据库
统计分析
产业报告
专利数据监控
产业人才
行业动态
产业政策法规
维权援助
个人中心
详情
文本
图像
标题
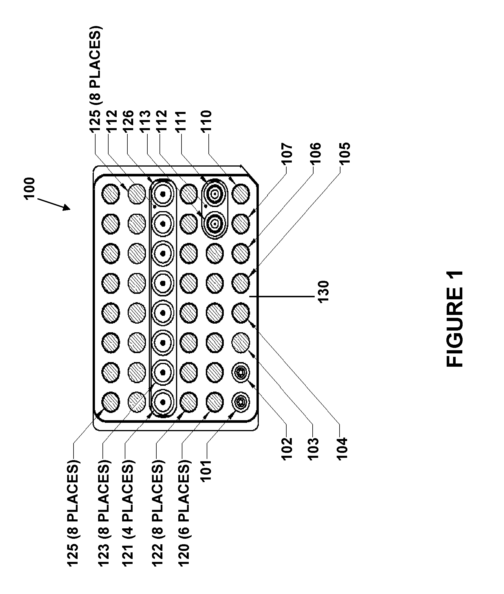
Modular point-of-care devices, systems, and uses thereof
授权日
2016-03-15
公开(公告)号
US9285366
申请日
2015-03-26
公开(公告)日
2016-03-15
当前申请(专利权)人
LABRADOR DIAGNOSTICS LLC
发明人
BURD, TAMMY | GIBBONS, IAN | HOLMES, ELIZABETH A. | FRENZEL, GARY | NUGENT, ANTHONY JOSEPH
简单同族
AU2008308686A1 | AU2008308686B2 | AU2013205047A1 | AU2013205047A8 | AU2013205047B2 | BRPI0820328A2 | CA2701794A1 | CA2701794C | CA2934220A1 | CA2934220C | CA3042430A1 | CN101874205A | CN101874205B | CN103323610A | CN103323610B | CN104297506A | CN104297506B | CN104297507A | CN104297507B | CN104502579A | CN104502579B | CN108333379A | DK2205968T3 | DK2657699T3 | EP2205968A1 | EP2205968A4 | EP2205968B1 | EP2657699A1 | EP2657699B1 | EP3181228A1 | ES2447875T3 | HK1150175A | HK1150175A1 | HK1190455A | HK1190455A1 | HK1206422A | HK1206422A1 | HK1206424A | HK1206424A1 | HK1209185A | HK1209185A1 | HK1247886A | HK1253827A | IL204877A | IL204877D0 | IL223599A | IL223599D0 | IL223600A | IL223600D0 | IL223601A | IL223601D0 | IL223602A | IL223602D0 | IL223603A | IL223603D0 | IL223604A | IL223604D0 | IL260063D0 | JP2010540971A | JP2013145247A | JP2014186038A | JP2016186495A | JP2018136345A | JP2018151399A | JP2020073941A | JP5511669B2 | KR101579327B1 | KR101669323B1 | KR101670621B1 | KR101844172B1 | KR1020100097103A | KR1020130119006A | KR1020150063603A | KR1020160126090A | KR1020180032684A | MX2010003578A | MX303109B | MX352987B | NZ584963A | NZ584963B | RU2010117267A | RU2013127796A | RU2540424C2 | RU2669767C2 | SG10201606120XA | SG160604A1 | SG188082A1 | US10634667 | US10670588 | US20090088336A1 | US20120149035A1 | US20130244898A1 | US20130252320A1 | US20130274139A1 | US20140335506A1 | US20150198588A1 | US20150355169A1 | US20150377871A1 | US20150377914A1 | US20160025721A1 | US20160139138A1 | US20160161513A1 | US20160266108A1 | US20160266158A1 | US20160266163A1 | US20170014064A1 | US20170016904A1 | US20180231536A1 | US20180238864A1 | US8088593 | US8697377 | US8822167 | US9012163 | US9121851 | US9285366 | US9435793 | US9581588 | US9588109 | WO2009046227A1
简单同族成员数量
119
简单同族被引用专利总数
390
诉讼案件数
0
法律状态/事件
授权 | 质押 | 权利转移
抱歉,您的浏览器不支持PDF预览,请点击链接下载PDF文件