专利数据库
统计分析
产业报告
专利数据监控
产业人才
行业动态
产业政策法规
维权援助
个人中心
详情
文本
图像
标题
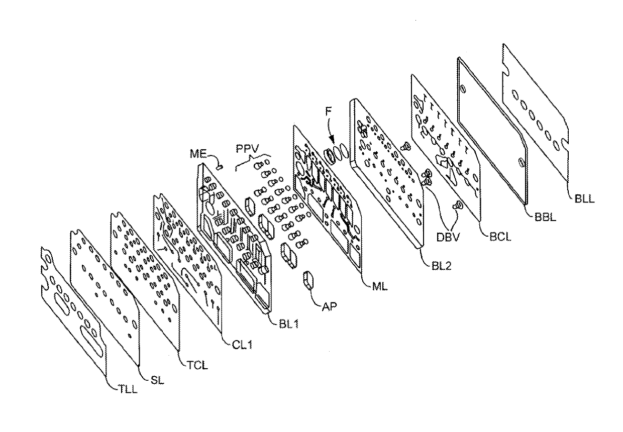
Methods for the Detection of Analytes in Small-Volume Blood Samples
授权日
1900-01-01
公开(公告)号
US20190128902A1
申请日
2018-12-17
公开(公告)日
2019-05-02
当前申请(专利权)人
LABRADOR DIAGNOSTICS LLC
发明人
GIBBONS, IAN | ROY, SHAUNAK | KU, EDMOND
简单同族
US10156579 | US20080113391A1 | US20100248277A1 | US20140308689A1 | US20160252535A1 | US20190128902A1 | US8778665 | US9303286 | WO2008085228A2 | WO2008085228A3
简单同族成员数量
10
简单同族被引用专利总数
101
诉讼案件数
0
法律状态/事件
实质审查 | 权利转移
抱歉,您的浏览器不支持PDF预览,请点击链接下载PDF文件